Запчасти Case IH 9240 (4-020) - TRANSMISSION SOLENOID HARNESS (04) - ELECTRICAL SYSTEMS

Схема запчастей Case IH 9240 - (4-020) - TRANSMISSION SOLENOID HARNESS (04) - ELECTRICAL SYSTEMS
3
5
4
1
2
6
7
FIT
1:1
100%

Артикул

Название

Примечание

Количество

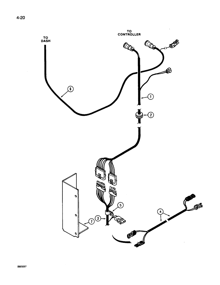
1

60-6288T1

HARNESS

- transmission solenoid, upper

1шт.

2

1-1051

GROMMET

- harness protection

1шт.

3

60-6800T1

HARNESS

- transmission solenoid, lower (Replaces 60-6289T1)

1шт.

4

60-6801T1

CABLE

- solenoid adapter, used with 60-6798T1 controller on tractors with P.I.N. JCB0003600 and after which have been modified with 35-1918T91 clutch modification kit

1шт.

5

31-1776

MOUNTING CLIP

CLAMP - retaining (Replaces 31-2488)

1шт.

6

60-6089T1

HARNESS

- dash display

1шт.

7

50-3322T2

SHIELD

COVER - harness protection, See Figure 6-034, Ref. 31

1шт.

Выбрано товаров: 7