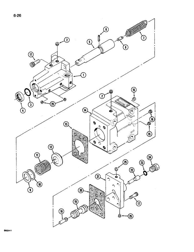
Запчасти Case IH 9250 (6-026) - TRANSMISSION, CLUTCH CONTROL VALVE (06) - POWER TRAIN

Схема запчастей Case IH 9250 - (6-026) - TRANSMISSION, CLUTCH CONTROL VALVE (06) - POWER TRAIN
10
16
15
8
3
25
7
2
20
5
23
22
6
12
17
4
11
16
17
1
24
25
21
9
2
14
18
25
19
13
FIT
1:1
100%

Артикул

Название

Примечание

Количество

90-7354T91

TRANSMISSION

TRANSMISSION ASSEMBLY - 9240 tractor, complete parts list on Figures 6-006 through 6-034, Includes: Ref. 1 - 25

1шт.

90-7015T91

TRANSMISSION

TRANSMISSION ASSEMBLY - 9250 and 9260 tractor, complete parts list on Figures 6-006 through 6-034, Includes: Ref. 1 - 25

1шт.

313686A1R

REMAN-TRANSMISSION

Remanufactured Transmission 4WD Powershift;

1шт.

313686A1C

CORE-TRANSMISSION

Return Part Number

1шт.

S6000S00F

VALVE

VALVE ASSEMBLY - clutch control, Includes: Ref. 1 - 25

1шт.

1

S6090S00F

HOUSING

COVER - control stem

1шт.

2

STX99700F

PLUG

PLUG - cover

3шт.

3

S6120S00F

O-RING

O-RING - control stem

1шт.

4

S6110S00F

OIL SEAL

SEAL - control stem

1шт.

5

S6100S00F

HOUSING

STEM - control

1шт.

6

S6080S00F

LINK, CONNECTING

LINK - connecting

1шт.

7

S6210S00F

SPRING

SPRING - tension

1шт.

8

S6130S00F

PIN, ROLL

PIN - roll

1шт.

9

S6200S00F

SPACER

SPACER - 31 x 1.2 mm

1шт.

10

S6140S00F

SHIM,1.0mm Thk

SHIM, (30 mm) 1.0mm Thk

1шт.

11

S6150S00F

SPRING

SPRING - compression

1шт.

12

S6060S00F

SPRING SEAT

SEAT - spring

1шт.

13

S6070S00F

GASKET

GASKET - control stem cover

1шт.

14

S6050S00F

HOUSING

BODY - modulator

1шт.

15

S6240S00F

ORIFICE

PLUG - orifice

1шт.

16

S6230S00F

ORIFICE

PLUG - orifice

2шт.

17

S6260S00F

SCREW

BOLT - socket head

8шт.

18

S6160S00F

PIN

PIN - spool

1шт.

19

S6040S00F

SPOOL

SPOOL - modulator

1шт.

20

S6030S00F

GASKET

GASKET - valve cover

1шт.

21

S6020S00F

COVER

COVER - valve

1шт.

22

S6010S00F

SPOOL

SPOOL - reducing

1шт.

23

S6180S00F

O-RING

O-RING - plug

1шт.

24

S6170S00F

PLUG

PLUG - spool end

1шт.

25

S6220S00F

PLUG

PLUG - cover

6шт.

Выбрано товаров: 30