Запчасти Case IH 9250 (6-121C) - WHEELS AND SPACERS, USED WITH 18.4 INCH X 42 INCH TIRES, SINGLE FRONT AND DUAL REAR, FRONT AXLE (06) - POWER TRAIN

Схема запчастей Case IH 9250 - (6-121C) - WHEELS AND SPACERS, USED WITH 18.4 INCH X 42 INCH TIRES, SINGLE FRONT AND DUAL REAR, FRONT AXLE (06) - POWER TRAIN
3
13
4
5
7
5
13
11
13
1
6
12
8
13
6
2
9
10
FIT
1:1
100%

Артикул

Название

Примечание

Количество

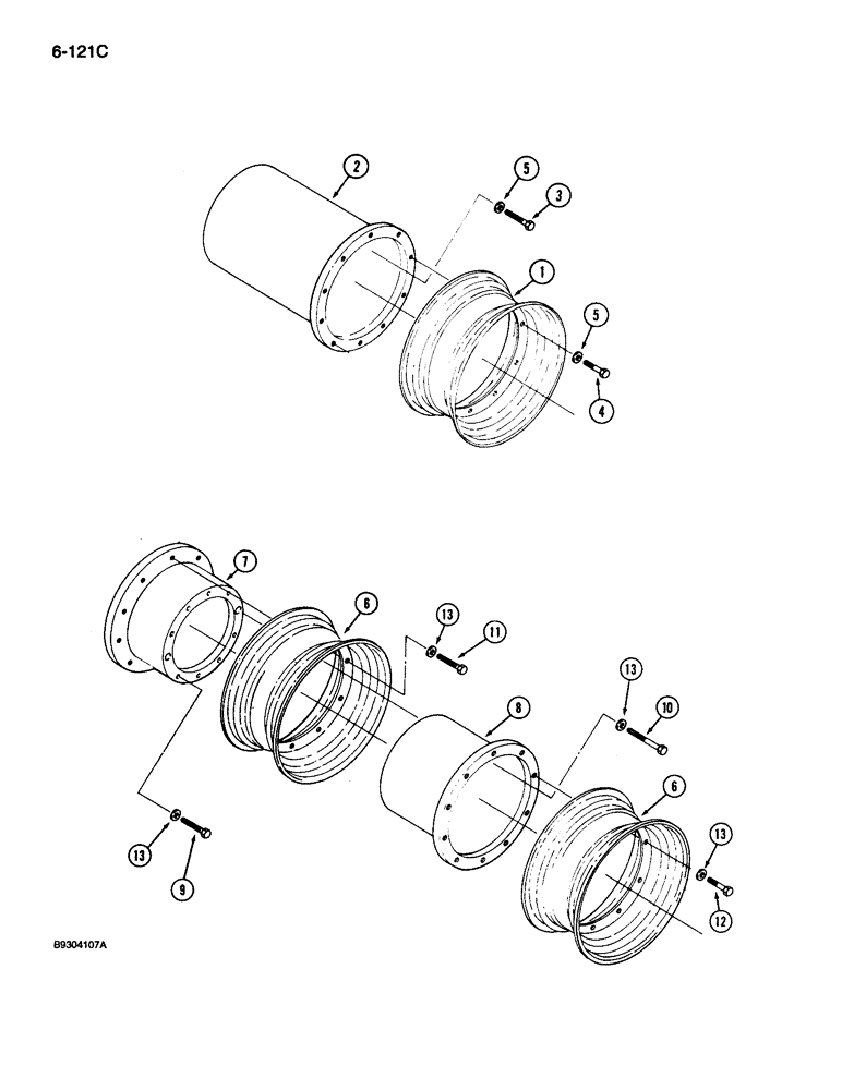
1

30-1533T1

RIM

WHEEL - front, single

2шт.

2

30-1596T1

SPACER

- wheel, single mounting, 17-9/16 inch wide

2шт.

3

70-6402T1

SCREW

BOLT - hex, 7/8 NC x 3 inch, grade 8, 2-1/2 inch thread length, spacer to axle hub

16шт.

4

426-1440

BOLT,Hex, 7/8" - 9 x 2-1/2", Gr 8

- hex, 7/8 NC x 2-1/2 inch, grade 8, front wheel to spacer

20шт.

5

70-5535T1

WASHER,23.01mm ID x 45.21mm OD x 6.35mm Thk

- flat, hardened, 7/8 x 1-3/4 x 1/4 inch

36шт.

6

30-1533T1

RIM

WHEEL - inner and outer, rear axle

4шт.

7

30-1582T1

SPACER

- wheel, inner, dual mounting, 11-7/16 inch wide, rear axle

2шт.

8

30-1585T1

SPACER

- wheel, outer, dual mounting, 15-15/16 inch wide, rear axle

2шт.

9

70-6402T1

SCREW

BOLT - hex, 7/8 NC x 3 inch, grade 8, 2-1/2 inch thread length, inner spacer to axle hub, rear

4шт.

10

426-1472

BOLT,Hex, 7/8" - 9 x 4-1/2", Gr 8

- hex, 7/8 NC x 4-1/2 inch, grade 8, inner and outer spacer to axle hub, rear

16шт.

11

70-6402T1

SCREW

BOLT - hex, 7/8 NC x 3 inch, grade 8, 2-1/2 inch thread length, inner wheel to inner spacer, rear axle

20шт.

12

426-1440

BOLT,Hex, 7/8" - 9 x 2-1/2", Gr 8

- hex, 7/8 NC x 2-1/2 inch, grade 8, outer wheel to outer spacer, rear axle

20шт.

13

70-5535T1

WASHER,23.01mm ID x 45.21mm OD x 6.35mm Thk

- flat, hardened, 7/8 x 1-3/4 x 1/4 inch, rear axle

60шт.

Выбрано товаров: 0