Запчасти Case IH 9250 (3-010) - FUEL TANK SENSOR (03) - FUEL SYSTEM

Схема запчастей Case IH 9250 - (3-010) - FUEL TANK SENSOR (03) - FUEL SYSTEM
5
10
4
1
2
12
2
11
12
10
3
6
FIT
1:1
100%

Артикул

Название

Примечание

Количество

REF

INSTRUCTION

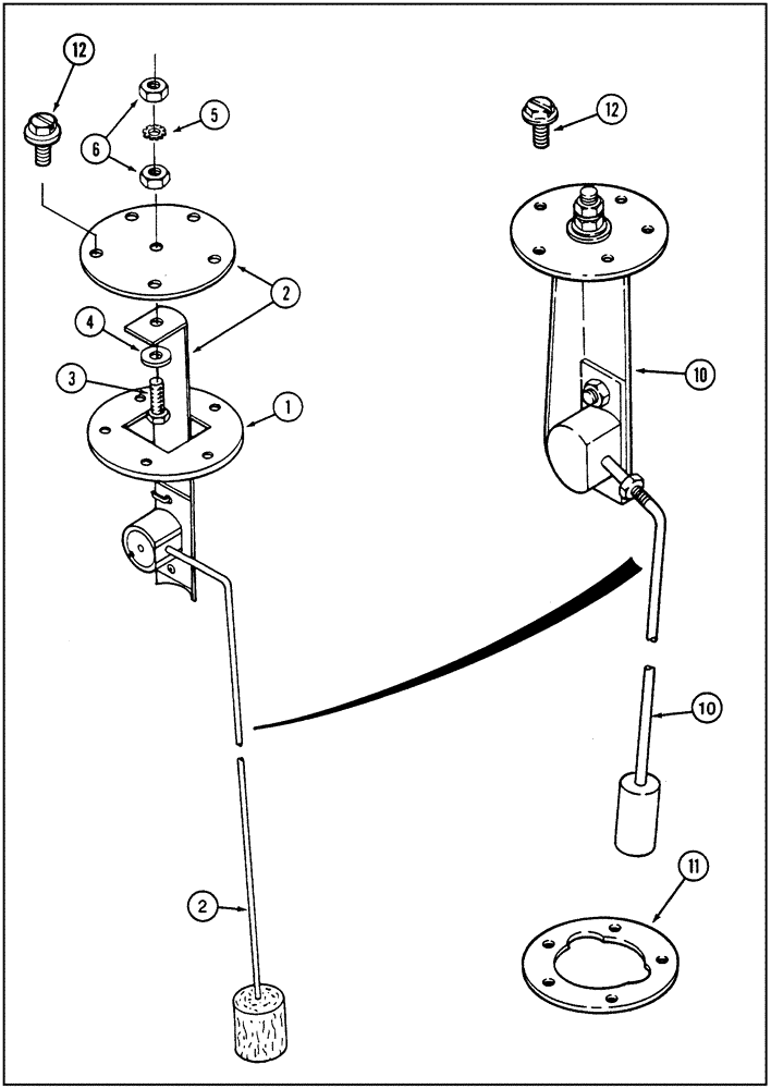
SENSOR ASSEMBLY - fuel tank, order 60-6832T91 Ref. 10 and 104812C3 Ref. 11, Includes: Ref. 1 - 6

1шт.

1

60-6243T1

GASKET

- fuel sensor

1шт.

2

NSS

NOT SOLD SEPARAT

SENSOR - fuel

1шт.

3

60-6244T1

TERMINAL CONNECTOR

TERMINAL - fuel sensor

1шт.

4

60-6245T1

ISOLATOR

INSULATOR - terminal

1шт.

5

493-41020

LOCK WASHER,Ext Tooth, #10

WASHER, LOCK, Ext Tooth, #10

1шт.

6

225-14210

NUT,#10-32

2шт.

10

60-6832T91

SENDER UNIT

SENDER - fuel tank

1шт.

11

104812C3

GASKET,3.05mm Thk

- fuel level sender, Used on Magnum

1шт.

12

463-3108

SCREW,Hex Wash Hd, #10-24 x 1/2"

- machine, hex washer head, No. 10 NC x 1/2 inch

5шт.

Выбрано товаров: 10