Запчасти Case IH 9260 (8-044) - HYDRAULIC OIL COOLER AND MOUNTING (08) - HYDRAULICS

Схема запчастей Case IH 9260 - (8-044) - HYDRAULIC OIL COOLER AND MOUNTING (08) - HYDRAULICS
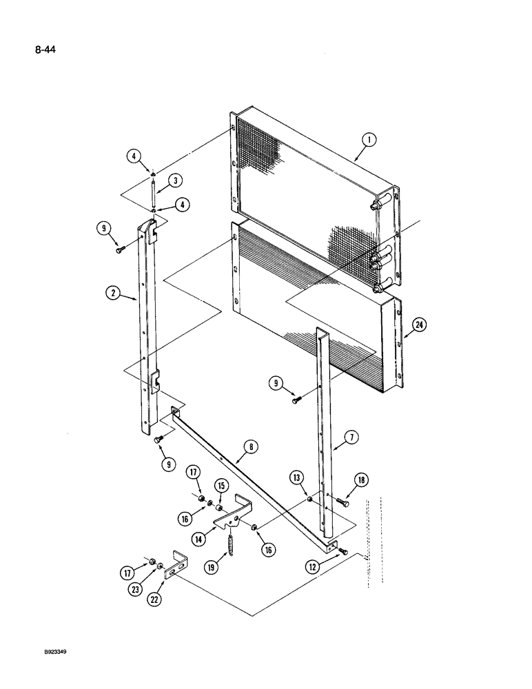
7
24
2
17
13
14
22
4
18
19
8
9
16
23
4
16
1
9
3
15
9
17
12
FIT
1:1
100%

Артикул

Название

Примечание

Количество

1

90-6708T1

OIL COOLER

COOLER - oil, hydraulic

1шт.

2

90-7306T2

SUPPORT

BRACE - mounting, cooler (with hinge)

1шт.

3

70-1996T3

PIN,6.35mm OD x 111mm L

ROD - hinge

2шт.

4

70-2600T2

CIRCLIP

RING - retaining

4шт.

7

70-5758T2

SUPPORT

BRACE - mounting, cooler

1шт.

8

90-7307T2

SUPPORT

BRACKET - mounting, cooler

1шт.

9

413-58

BOLT,Hex, 5/16" - 18 x 1/2", Gr 5

- hex, 5/16 NC x 1/2 inch

6шт.

12

413-512

BOLT,Hex, 5/16" - 18 x 3/4", Gr 5

- hex, 5/16 NC x 3/4 inch

1шт.

13

27254R1

NUT

- hex lock, 5/16 inch NC

1шт.

14

70-5756T2

HANDLE

- latch

1шт.

15

70-5177T1

SPACER

- pivot, latch

1шт.

16

495-21044

WASHER,3/8"

(flat, 7/16 x 1 x 5/64 inch) 3/8"

2шт.

17

232-4136

LOCK NUT,3/8"-16, GC

NUT, LOCK, 3/8"-16, GC

3шт.

18

413-616

BOLT,Hex, 3/8" - 16 x 1", Gr 5

- hex, 3/8 NC x 1 inch

1шт.

19

90-7524T1

SPRING

- latch handle (Replaces 11-8)

1шт.

22

70-5757T1

LOCK

LATCH - retaining, handle

1шт.

23

495-11041

WASHER,0.406" ID x 0.812" OD x 0.065" W

(Flat, 13/32 x 13/16 x 1/16") 3/8", SAE

2шт.

24

60-6711T1

CONDENSER

- air conditioning, See Figures 9-108, 9-110 and 9-111A

1шт.

Выбрано товаров: 18