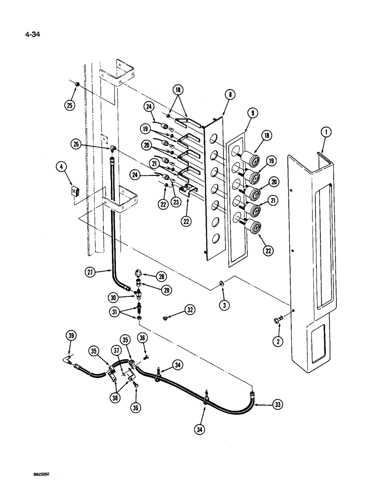
Запчасти Case IH 9260 (4-034) - GAUGE PANEL, 9250 AND 9260 TRACTOR (04) - ELECTRICAL SYSTEMS

Схема запчастей Case IH 9260 - (4-034) - GAUGE PANEL, 9250 AND 9260 TRACTOR (04) - ELECTRICAL SYSTEMS
22
23
1
30
33
9
19
38
28
8
20
32
39
2
19
31
26
22
37
20
24
2
21
18
21
25
24
29
34
34
36
18
36
35
3
27
35
4
FIT
1:1
100%

Артикул

Название

Примечание

Количество

1

60-5940T2

COVER

- panel, ROPS (Deluxe cab)

1шт.

1

60-6166T1

COVER

- panel, ROPS (ROPS cab)

1шт.

2

19-6136

STUD

- lock, quarter turn

6шт.

3

19-5668

WASHER

- flat, 1/4 x 3/4 x 3/16 inch

6шт.

4

A36042

CLIP

RECEPTACLE - lock stud, quarter turn

6шт.

60-6291T91

PANEL, INSTRUMENTS

PANEL ASSEMBLY - gauge (Order components), Includes: Ref. 8 - 24

1шт.

8

60-5756T1

PANEL

- gauge

1шт.

9

60-5939T2

DECAL

- gauge panel

1шт.

18

20-2018T2

HOURMETER

GAUGE - hourmeter

1шт.

19

20-2466T1

VOLTMETER

GAUGE - voltmeter

1шт.

20

20-2464T1

FUEL GAUGE

GAUGE - fuel level

1шт.

21

20-2465T1

GAUGE

- water temperature, engine

1шт.

22

60-6145T1

OIL PRESSURE GAUGE

GAUGE - oil pressure, engine

1шт.

23

23731R1

BULB,C2F, #1893, 14V

- lamp, No.1893

5шт.

24

60-6292T3

HARNESS

- instrument panel lamping

1шт.

25

9411893

LOCK NUT,#10-32, GB

NUT - hex lock, No. 10 NF

4шт.

26

31-2740

ELBOW

- 90 degree brass, 1/8 PT x 7/16 inch thread

1шт.

27

31-2784

HOSE

- gauge, 42 inch

1шт.

28

60-6330T1

ASSEMBLY

SWITCH - oil pressure, engine

1шт.

29

31-2741

HYD CONNECTOR,37 Degree, Sw, 7/16"-20 x 1/8"-27 NPTF

ADAPTER - straight, 1/8 PT x 7/16 inch thread

1шт.

30

218-5478

TEE,7/16" - 20 JIC x 7/16" - 20 JIC x 7/16" - 20 JIC

- 7/16-20 inch flare branch x fl x adj straight thread

1шт.

31

218-671

FITTING,Blkhd, 7/16"-20, 37 Degree x 7/16"-20, 37 Degree

ADAPTER - straight bulkhead, 7/16-20 inch thread

1шт.

32

64-146

PLUG

- button

1шт.

33

31-3024

HOSE

- engine oil pressure, 108 inch (Replaces 31-2155)

1шт.

34

22-824

CABLE TIE,3/16" x 7 1/4"

STRAP - nylon

2шт.

35

31-1411

CLAMP

- retaining

2шт.

36

413-612

BOLT,Hex, 3/8" - 16 x 3/4", Gr 5

2шт.

37

425-106

NUT,3/8"-16, Cl 5

2шт.

38

90-5994T1

SUPPORT

BRACKET - mounting, clamp

2шт.

39

218-491

ELBOW,90 Degree Elbow, 7/16" - 20 Male JIC x 1/4" - 18 Male NPTF

- 90 degree, 7/16-20 thread x 1/4 inch PT

1шт.

Выбрано товаров: 30