Запчасти Case IH 9260 (4-054) - FLOOD LAMP (04) - ELECTRICAL SYSTEMS

Схема запчастей Case IH 9260 - (4-054) - FLOOD LAMP (04) - ELECTRICAL SYSTEMS
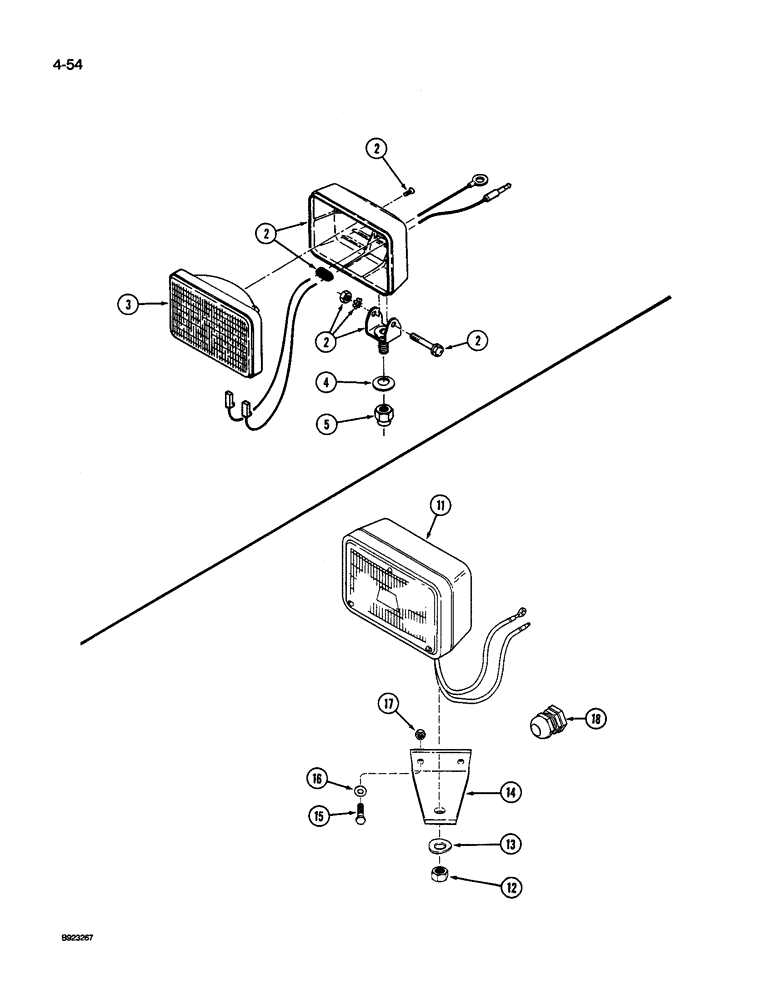
5
12
3
2
2
18
16
11
2
13
15
14
17
2
4
FIT
1:1
100%

Артикул

Название

Примечание

Количество

20-1730T91

LAMP, WORK

LAMP ASSEMBLY - flood, Includes: Ref. 2 & 3

4шт.

2

NSS

NOT SOLD SEPARAT

HOUSING - flood lamp

1шт.

3

20-1822T1

LAMP BASE

LAMP - sealed beam

1шт.

4

22-367

SPRING WASHER

- lock, conical spring, 1/2 inch

4шт.

5

19-653

LOCK NUT

- hex lock, 1/2 inch NC

4шт.

35-1751T91

LAMP

KIT - flood lamp (Order components), Includes: Ref. 11 - 18

1шт.

11

20-1730T91

LAMP, WORK

LAMP ASSEMBLY - flood (See Ref. 2 & 3 above for repair parts, kit

4шт.

12

19-653

LOCK NUT

- hex lock, 1/2 inch NC, flood lamp kit

4шт.

13

22-367

SPRING WASHER

- conical spring lock, 1/2 inch, flood lamp kit

4шт.

14

60-4336T1

SUPPORT

BRACKET - mounting (flood lamp to cab), kit

2шт.

15

413-416

BOLT,Hex, 1/4" - 20 x 1", Gr 5

- hex, 1/4 NC x 1 inch, flood lamp kit

4шт.

16

495-11028

WASHER,1/4", SAE

(flat, 9/32 x 5/8 x 1/16"), Flood lamp kit 1/4", SAE

4шт.

17

111626C1

NUT

- hex lock, 1/4 inch NC, flood lamp kit

4шт.

18

60-6590T1

CONNECTOR, ELEC

CONNECTOR - wire (cab mounted lamp), flood lamp kit

2шт.

Выбрано товаров: 14