Запчасти Case IH 9270 (4-26) - GAUGE PANEL (04) - ELECTRICAL SYSTEMS

Схема запчастей Case IH 9270 - (4-26) - GAUGE PANEL (04) - ELECTRICAL SYSTEMS
20
31
29
4
23
38
24
26
3
19
22
34
18
9
24
21
32
8
2
1
37
40
18
35
27
20
28
25
41
30
22
33
19
36
21
39
22
FIT
1:1
100%

Артикул

Название

Примечание

Количество

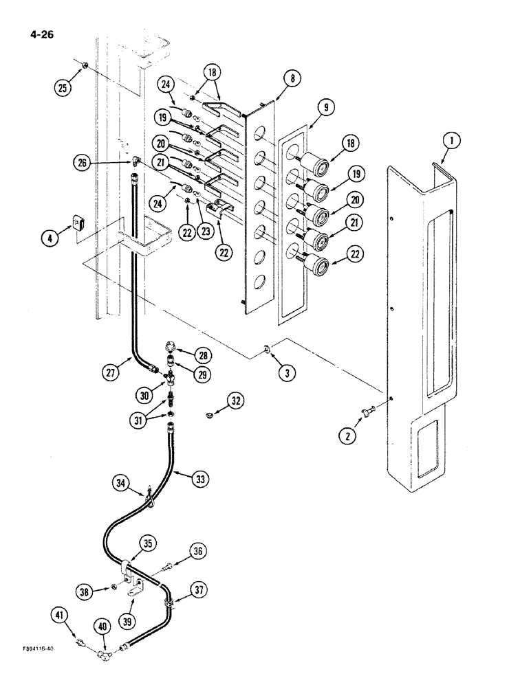
1

60-5940T2

COVER

- panel, ROPS (Deluxe cab)

1шт.

1

60-6166T1

COVER

- panel, ROPS (ROPS cab)

1шт.

2

19-6136

STUD

- quarter turn

6шт.

3

19-5668

WASHER

- flat, 1/4 x 3/4 x 3/16 inch

6шт.

4

A36042

CLIP

RECEPTACLE - quarter turn

6шт.

60-6291T91

PANEL, INSTRUMENTS

PANEL ASSEMBLY - gauge, Includes: Ref. 8 - 24

1шт.

8

60-5756T1

PANEL

- gauge

1шт.

9

60-5939T2

DECAL

- gauge panel

1шт.

18

20-2018T1

HOURMETER

GAUGE - hourmeter

1шт.

19

20-2466T1

VOLTMETER

GAUGE - voltmeter

1шт.

20

20-2464T1

FUEL GAUGE

GAUGE - fuel level

1шт.

21

20-2465T1

GAUGE

- water temperature, engine

1шт.

22

60-6145T1

OIL PRESSURE GAUGE

GAUGE - oil pressure, engine

1шт.

23

23731R1

BULB,C2F, #1893, 14V

- lamp, No.1893

5шт.

24

60-6292T2

HARNESS

- instrument panel lighting

1шт.

25

9411893

LOCK NUT,#10-32, GB

NUT - hex lock, No. 10 NF

4шт.

26

31-2740

ELBOW

- brass, 90 degree, 1/8 PT x 7/16 inch thread

1шт.

27

31-2784

HOSE

ASSEMBLY - gauges, 42 inch

1шт.

28

60-6330T1

ASSEMBLY

SWITCH - oil pressure, engine

1шт.

29

31-2741

HYD CONNECTOR,37 Degree, Sw, 7/16"-20 x 1/8"-27 NPTF

ADAPTER - straight, 1/8 PT x 7/16 inch thread

1шт.

30

218-5478

TEE,7/16" - 20 JIC x 7/16" - 20 JIC x 7/16" - 20 JIC

- 7/16-20 inch flare branch x fl x adj straight thread

1шт.

31

218-671

FITTING,Blkhd, 7/16"-20, 37 Degree x 7/16"-20, 37 Degree

ADAPTER - straight, 7/16-20 inch flare x bulkhead flare

1шт.

32

64-146

PLUG

- hole, access

1шт.

33

31-2155

HOSE

ASSEMBLY - engine oil pressure, 108 inch

1шт.

34

22-824

CABLE TIE,3/16" x 7 1/4"

STRAP - nylon

1шт.

35

31-1070

CLAMP,5/8", 3/8" Bolt, Double

- retaining

1шт.

36

413-612

BOLT,Hex, 3/8" - 16 x 3/4", Gr 5

1шт.

37

31-1776

MOUNTING CLIP

CLAMP - retaining

1шт.

38

425-106

NUT,3/8"-16, Cl 5

1шт.

39

90-5994T1

SUPPORT

BRACKET - mounting, cable clamp

1шт.

40

218-5228

ELBOW,90 Degree, 7/16"-20, 37 Degree x 7/16"-20, 37 Degree Fem Sw

- 90 degree swivel, 7/16-20 flare x swivel

1шт.

41

31-1028

HYD CONNECTOR,7/16"-20, 37 Degree x 1/8"-27, NPTF

ADAPTER - straight, 1/8 PT x 7/16 inch thread

1шт.

Выбрано товаров: 32