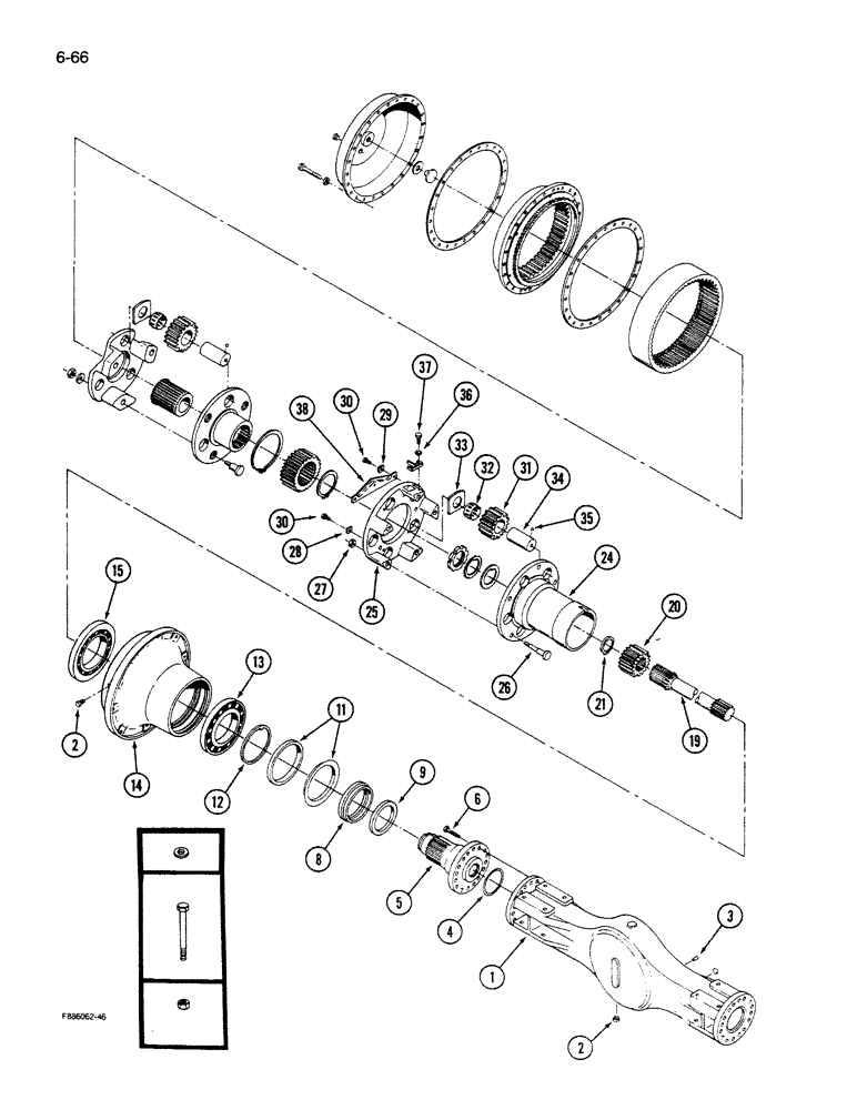
Запчасти Case IH 9270 (6-66) - AXLE ASSEMBLY, HOUSING AND WHEEL END, K598.60/70 SERIES (06) - POWER TRAIN

Схема запчастей Case IH 9270 - (6-66) - AXLE ASSEMBLY, HOUSING AND WHEEL END, K598.60/70 SERIES (06) - POWER TRAIN
19
9
14
29
25
20
15
34
24
6
26
37
32
3
36
27
33
13
28
38
21
30
12
30
4
35
1
2
11
2
8
31
5
FIT
1:1
100%

Артикул

Название

Примечание

Количество

90-6556T91

4WD AXLE ASSY

AXLE ASSEMBLY - front, Includes: Ref. 1 - 38 and 45 - 80 on Figure 6-68

1шт.

90-6557T91

AXLE HOUSING

AXLE ASSEMBLY - rear, Includes: Ref. 1 - 38 and 45 - 80 on Figure 6-68

1шт.

1

90-4483T1

HOUSING

- axle, front or rear

1шт.

2

90-4484T1

PLUG

- magnetic, 24 mm - 1.5

3шт.

3

90-4485T1

DOWEL

PIN - dowel, 10 x 25 mm

1шт.

4

16-1505

O-RING,136mm ID x 15mm Width

- seal, 135 x 5 mm

2шт.

5

90-4481T1

LARGE PIN

AXLE - stub housing, left or right

2шт.

6

90-4480T1

SCREW,Hex, M22 x 1.5 x 65mm, Gr 10.9

BOLT - hex

32шт.

8

90-7086T1

RING

- shoulder

2шт.

9

90-5989T1

SEALING RING

SEAL - stub axle

2шт.

11

90-5988T1

SEALING RING

ASSEMBLY - (Includes wear sleeve)

2шт.

12

90-4477T2

DISC

DISK - spacer

2шт.

13

90-4500T1

TAPERED BEARING,169.97mm ID x 239.97mm OD x 0mm W

- taper roller

2шт.

14

90-4499T1

HUB

- wheel, left or right

2шт.

15

90-4498T1

TAPERED BEARING,170mm ID x 230mm OD x 32mm W

- taper roller

2шт.

19

90-2535T1

SHAFT

- axle, short, 1106.5 mm

1шт.

19

90-2536T1

SHAFT

- axle, long, 1236.5 mm

1шт.

20

90-4519T1

PINION

GEAR - sun (25 tooth)

2шт.

21

16-1596

RING, SNAP

RING - snap

2шт.

90-4533T91

REDUCER

CARRIER ASSEMBLY - inner planetary, Includes: Ref. 24 - 38

2шт.

24

NSS

NOT SOLD SEPARAT

CARRIER - planetary

2шт.

25

NSS

NOT SOLD SEPARAT

CARRIER - planetary

2шт.

26

90-4538T1

SCREW

BOLT - shouldered

10шт.

27

16-1598

NUT

- hex, 16 mm - 1.5

10шт.

28

90-4531T2

NUT

TAB - locking, 4 mm thick

6шт.

29

90-6731T1

NUT

TAB - locking, 2 mm thick

4шт.

30

16-1626

BOLT,Hex, M8 x 1.25 x 15mm, Gr 10.9

BOLT - hex, 8 x 15 mm, Grade 10.9

12шт.

31

1-8339

PINION

GEAR - pinion, inner planetary (19 tooth)

10шт.

32

1-8340

BEARING, NEEDLE

BEARING - needle roller (2 per gear)

20шт.

33

1-8341

SPACER

PLATE - spacer, wear

20шт.

34

90-4536T1

LARGE PIN

SHAFT - planetary pinion (Without lube hole)

4шт.

34

90-2567T1

PIN

SHAFT - planetary pinion (With lube hole)

6шт.

35

16-1607

BALL

- steel

10шт.

36

892-11006

LOCK WASHER,M6

WASHER, LOCK, M6

4шт.

37

30191R1

BOLT,Hex, M6 x 1 x 12mm, Cl 10.9, Full Thd

- hex, 6 x 12 mm, Grade 10.9

4шт.

38

90-4530T1

LARGE PLATE

PLATE - baffle

2шт.

Выбрано товаров: 36