Запчасти Case IH 9270 (3-010) - ENGINE THROTTLE CONTROLS (03) - FUEL SYSTEM

Схема запчастей Case IH 9270 - (3-010) - ENGINE THROTTLE CONTROLS (03) - FUEL SYSTEM
3
23
18
4
24
6
1
26
25
12
19
2
13
19
19
5
8
11
5
7
20
21
9
FIT
1:1
100%

Артикул

Название

Примечание

Количество

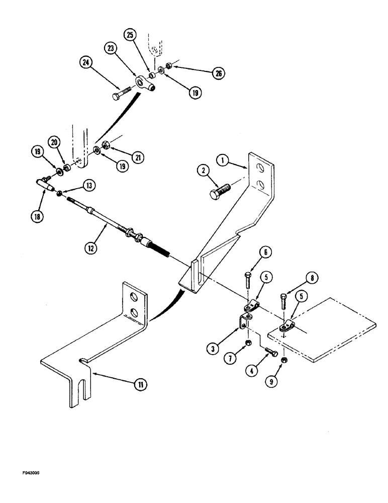
1

90-6777T3

SUPPORT

BRACKET - throttle cable, no longer available, for service order 90-7643T1, Ref. 11

1шт.

2

414-916

BOLT,Hex, 9/16" - 18 x 1", Gr 5

- hex, 9/16 NF x 1 inch

2шт.

3

90-5994T1

SUPPORT

BRACKET - mounting, cable clamp

1шт.

4

24848R1

BOLT,Hex, 7/16" - 14 x 3/4", Gr 8

Hex, 7/16"-14 x 3/4", G8

1шт.

5

155850H1

CLAMP,3/8", 1/4" Bolt

- P-type, if equipped

2шт.

6

413-612

BOLT,Hex, 3/8" - 16 x 3/4", Gr 5

If equipped Hex, 3/8"-16 x 3/4", G5, Full Thd

1шт.

7

425-106

NUT,3/8"-16, Cl 5

If equipped 3/8"-16, G5

1шт.

8

426-512

BOLT,Hex, 5/16" - 18 x 3/4", Gr 8

- hex, 5/16 NC x 3/4 inch, grade 8, If equipped

1шт.

9

425-105

NUT,5/16"-18, G5

- hex, 5/16 inch NC, If equipped

1шт.

11

90-7643T1

SUPPORT

BRACKET - throttle cable

1шт.

12

60-6425T1

CABLE,3048mm L

- throttle, Includes: Ref. 13

1шт.

13

225-14210

NUT,#10-32

1шт.

18

A75447

BALL JOINT

JOINT - ball, no longer available, order Ref. 23 - 26

1шт.

Includes A/C High Pressure Switch Connection

1шт.

19

495-31025

WASHER,3/16"

- flat, 1/4 x 9/16 x 3/64 inch

2шт.

20

90-4150T1

BUSHING

SPACER, use with A75447 ball joint only

1шт.

21

9411893

LOCK NUT,#10-32, GB

NUT - hex, self-locking, No. 10 NF, use with A75447 ball joint only

1шт.

23

H433283

BALL JOINT

JOINT - ball

1шт.

Includes A/C High Pressure Switch Connection

1шт.

24

163-55

SCREW,Hex, #10 - 24 x 1 1/4", Gr 5

- machine, hex, No. 10 NC x 1-1/4 inch

1шт.

25

90-7749T1

SPACER

23/64 x 7/16 inch

1шт.

26

86625057

NUT,#10-24, GB

NUT, LOCK, #10-24, GB

1шт.

Выбрано товаров: 22