Запчасти Case IH 9270 (8-062) - HITCH VALVE ASSEMBLY (08) - HYDRAULICS

Схема запчастей Case IH 9270 - (8-062) - HITCH VALVE ASSEMBLY (08) - HYDRAULICS
21
63
3
25
18
20
48
22
47
33
29
60
5
39
47
6
43
1
2
7
37
62
36
40
28
49
46
16
4
42
64
38
26
6
61
17
32
19
8
27
FIT
1:1
100%

Артикул

Название

Примечание

Количество

50-3321T91

VALVE

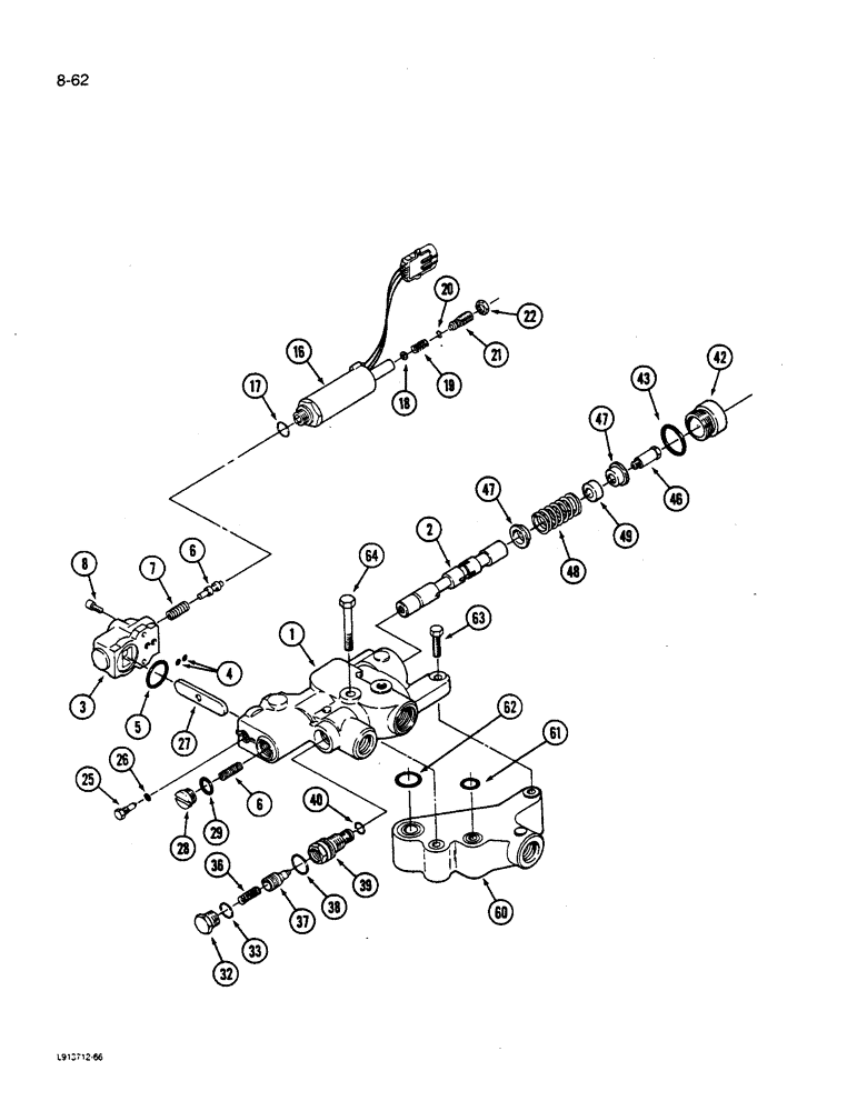
ASSEMBLY - three point hitch, Includes: Ref. 1 - 64

1шт.

NSS

NOT SOLD SEPARAT

VALVE ASSEMBLY - hitch (Order 50-3321T91), Includes: Ref. 1 - 49

1шт.

1

NSS

NOT SOLD SEPARAT

BODY - valve (Order 50-3321T91)

1шт.

2

NSS

NOT SOLD SEPARAT

SPOOL - valve (Order 50-3321T91)

1шт.

3

1986877C1

PACKAGE

BODY ASSEMBLY - solenoid, servo, Includes: Ref. 4 - 6

1шт.

4

NSS

NOT SOLD SEPARAT

O-RING - 1/8 ID x 1/16 inch

2шт.

5

NSS

NOT SOLD SEPARAT

O-RING - 1-3/16 ID x 1/16 inch

2шт.

6

1971601C1

SPOOL

- control

1шт.

7

1971620C1

SPRING

- pivot lever

2шт.

8

1971618C1

SCREW

- machine

2шт.

1346208C1

SOLENOID

ASSEMBLY - electrical, Includes: Ref. 16 - 22

1шт.

16

NSS

NOT SOLD SEPARAT

CORE - solenoid

1шт.

17

NSS

NOT SOLD SEPARAT

O-RING - 5/8 ID x 13/16 inch

1шт.

18

NSS

NOT SOLD SEPARAT

WASHER - flat

1шт.

19

NSS

NOT SOLD SEPARAT

SPRING - solenoid

1шт.

20

NSS

NOT SOLD SEPARAT

O-RING - 1/4 ID x 1/8 inch

1шт.

21

NSS

NOT SOLD SEPARAT

PLUG - adjustment

1шт.

22

NSS

NOT SOLD SEPARAT

NUT - hex lock

1шт.

25

1971603C1

PLUG

ASSEMBLY - pivot, Includes: Ref. 26

1шт.

26

1971604C1

O-RING

- 15/64 ID x 1/16 inch

1шт.

27

1971609C1

LEVER

- pivot

1шт.

28

1971614C1

PLUG

ASSEMBLY- slotted, Includes: Ref. 29

1шт.

29

238-6115

O-RING,0.103" Thk x 0.674" ID, -115, Cl 6, 90 Duro

1шт.

1346209C1

PACKAGE

LOCKOUT KIT - valve, Includes: Ref. 32 - 40

1шт.

32

NSS

NOT SOLD SEPARAT

PLUG ASSEMBLY - hex

1шт.

33

NSS

NOT SOLD SEPARAT

O-RING - plug

1шт.

36

NSS

NOT SOLD SEPARAT

SPRING - lockout poppet

1шт.

37

NSS

NOT SOLD SEPARAT

POPPET - lockout

1шт.

38

NSS

NOT SOLD SEPARAT

O-RING - lockout housing

1шт.

39

NSS

NOT SOLD SEPARAT

HOUSING - lockout

1шт.

40

NSS

NOT SOLD SEPARAT

O-RING - lockout housing

1шт.

42

1971616C1

END ASSY.

CAP ASSEMBLY - end, Includes: Ref. 43

1шт.

43

NSS

NOT SOLD SEPARAT

O-RING - 1-5/16 ID x 3/32 inch

1шт.

46

1971615C2

SCREW

- spool

1шт.

47

1971599C1

WASHER

- special, deep

2шт.

48

1971621C1

SPRING

- valve spool

1шт.

49

1971619C1

SPACER

- valve spool

1шт.

60

50-3153T1

VALVE BLOCK

BLOCK - port

1шт.

61

90-6019T1

O-RING,0.424" ID x 0.103" Width

- 27/64 ID x 7/64 inch

1шт.

62

238-6218

O-RING,0.139" Thk x 1.234" ID, -218, Cl 6, 90 Duro

1шт.

63

326-628

BOLT,Hex, 3/8" - 16 x 1-3/4", Gr 8

- hex, 3/8 NC x 1-3/4 inch, Grade 8

1шт.

64

19-1119

BOLT,3/8" - 16 x 3 1/2", Gr 8

- hex, 3/8 NC x 3-1/2 inch, Grade 8

1шт.

Выбрано товаров: 42