Запчасти Case IH 9270 (9-058) - CAB OVERHEAD CONSOLE (09) - CHASSIS/ATTACHMENTS

Схема запчастей Case IH 9270 - (9-058) - CAB OVERHEAD CONSOLE (09) - CHASSIS/ATTACHMENTS
10
37
38
20
25
19
31
7
6
15
21
7
3
34
3
18
24
5
4
11
16
14
22
1
36
35
9
30
5
8
13
2
12
12
23
FIT
1:1
100%

Артикул

Название

Примечание

Количество

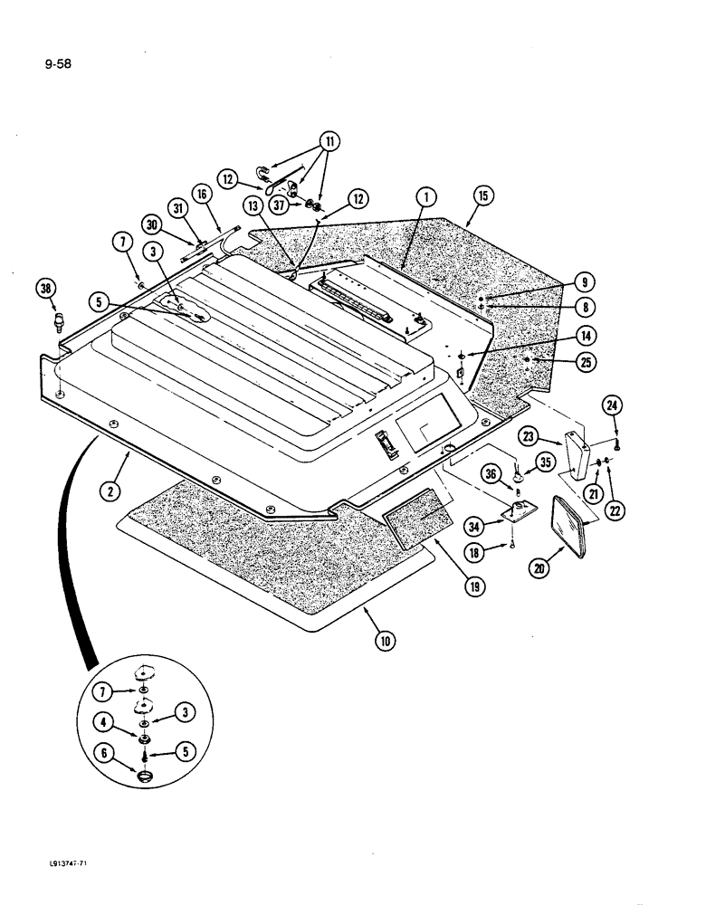
1

REF

INSTRUCTION

DOOR - overhead (See Figure 9-60)

1шт.

2

REF

INSTRUCTION

HEADLINER - cab (See Figure 9-62)

1шт.

3

495-31022

WASHER,#10

9шт.

4

1-8674

CAP WASHER

- trim cap

7шт.

5

60-6688T1

SCREW

- hex washer head tap, No.10-16 3/4 inch

7шт.

6

60-5920T1

CAP

- trim

7шт.

7

19-5668

WASHER

- flat, 1/4 x 3/4 x 3/16 inch

7шт.

8

495-11034

WASHER,5/16", SAE

5/16" SAE (flat, 11/32 x 11/16 x 1/16")

3шт.

9

425-105

NUT,5/16"-18, G5

- hex, 5/16 inch NC

3шт.

10

60-6351T1

FOAM

PAD - insulation

1шт.

11

70-5275T1

MOUNTING CLIP

CLAMP ASSEMBLY - wire rope

2шт.

12

60-4137T1

ROPE

WIRE ROPE - plastic coated (Order 60-5883T1 and, Serial Range: cut-length)

2шт.

13

70-5269T1

FERRULE

- wire rope

4шт.

14

19-5524

NUT

- speed, J-type 1/4-20

2шт.

15

60-5924T1

NOISE PROTECTION

PAD - insulation

1шт.

16

REF

INSTRUCTION

HARNESS - overhead wiring (See Figure 4-10)

1шт.

18

24379R1

SELF-TAP SCREW,Cross Pan Hd, #8 x 1/2"

SCREW - round head tap, No. 8 NS x 1/2 inch

2шт.

19

60-5922T1

FOAM

PAD - speaker cover

2шт.

20

A177462

MIRROR

ASSEMBLY - rear view, Includes: Ref. 21 and 22

1шт.

21

493-41026

LOCK WASHER,Ext Tooth, 1/4"

WASHER - external lock, 1/4 inch

1шт.

22

19-5565

LOCK NUT,1/4"-28, GB

NUT, LOCK, 1/4"-28, GB

1шт.

23

64-86T3

SUPPORT

BRACKET - rear view mirror

1шт.

24

463-41012

SCREW,Slot Hex Wash Hd, #10-24 x 3/4"

- hex flange machine, No. 10-24 x 3/4 inch

2шт.

25

19-5563

LOCK NUT

- hex lock, No. 10 NC

2шт.

30

22-823

MOUNT

STRAP - mounting, adhesive backed

1шт.

31

22-824

CABLE TIE,3/16" x 7 1/4"

STRAP - tie, 7 inch

1шт.

34

83882C91

LAMP

ASSEMBLY - console, Includes: Ref. 35 and 36

1шт.

35

107329C1

WIRE HARNESS

SOCKET - cable, bulb

1шт.

36

D71346

TAIL LAMP,12V

BULB - light, No. 168

1шт.

37

492-11010

LOCK WASHER,#10

WASHER, LOCK, #10

2шт.

38

60-6256T1

ANCHOR

STUD - anchor

1шт.

Выбрано товаров: 0