Запчасти Case IH 9270 (4-038) - FRONT FRAME HARNESS P.I.N. JCB0028400 & AFTER (04) - ELECTRICAL SYSTEMS

Схема запчастей Case IH 9270 - (4-038) - FRONT FRAME HARNESS P.I.N. JCB0028400 & AFTER (04) - ELECTRICAL SYSTEMS
22
28
13
26
25
5
27
1
14
19
14
3
24
18
2
14
20
13
7
12
6
12
14
17
4
18
7
9
8
1
21
FIT
1:1
100%

Артикул

Название

Примечание

Количество

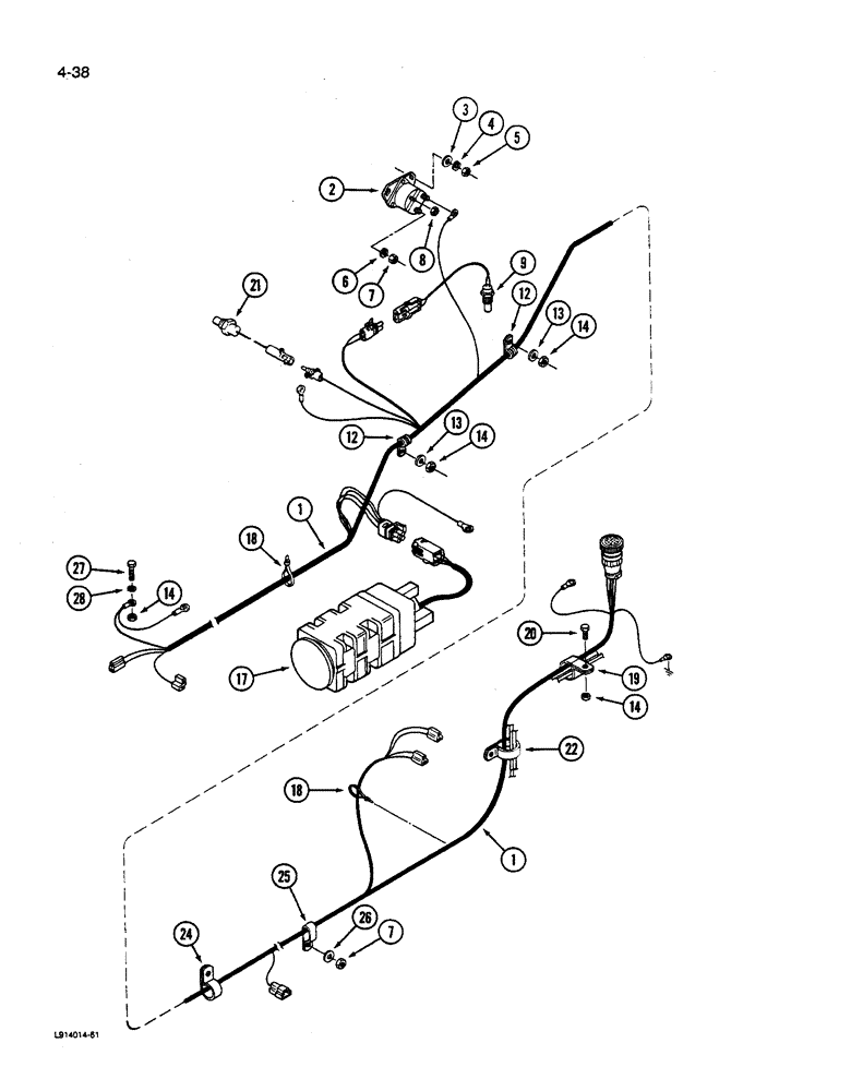
1

60-6788T2

HARNESS

ASSEMBLY - front frame

1шт.

2

121613C1

IGNITION SWITCH

SWITCH - magnetic

1шт.

3

495-11028

WASHER,1/4", SAE

(flat, 9/32 x 5/8 x 1/16") 1/4", SAE

2шт.

4

492-11025

LOCK WASHER,1/4"

WASHER, LOCK, 1/4"

2шт.

5

425-104

NUT,1/4"-20, Cl 5

- hex, 1/4 inch NC

2шт.

6

492-11031

LOCK WASHER,5/16"

WASHER, LOCK, 5/16"

2шт.

7

425-105

NUT,5/16"-18, G5

- hex, 5/16 inch NC

3шт.

8

19-481

SERRATED NUT

- hex keps, No. 10 NF

1шт.

9

1964538C1

SWITCH

- temperature

1шт.

12

31-1775

CLAMP

- retaining

2шт.

13

495-11041

WASHER,0.406" ID x 0.812" OD x 0.065" W

(Flat, 13/32 x 13/16 x 1/16") 3/8", SAE

2шт.

14

425-106

NUT,3/8"-16, Cl 5

2шт.

17

REF

INSTRUCTION

SENSOR - speed, ground (See Figure 4-90)

1шт.

18

22-824

CABLE TIE,3/16" x 7 1/4"

STRAP - tie, 7 inch

1шт.

19

32-343

MOUNTING CLIP

CLAMP - retaining

1шт.

20

413-612

BOLT,Hex, 3/8" - 16 x 3/4", Gr 5

1шт.

21

50-3496T1

SWITCH

- temperature

1шт.

22

31-1349

MOUNTING CLIP

CLAMP - retaining

1шт.

24

31-1348

CLAMP

- retaining

1шт.

25

31-1070

CLAMP,5/8", 3/8" Bolt, Double

- retaining

1шт.

26

495-11034

WASHER,5/16", SAE

5/16" SAE (flat, 11/32 x 11/16 x 1/16")

1шт.

27

413-620

BOLT,Hex, 3/8" - 16 x 1-1/4", Gr 5

- hex, 3/8 NC x 1-1/4 inch

1шт.

28

493-41039

LOCK WASHER,Ext Tooth, 3/8"

WASHER, LOCK, Ext Tooth, 3/8"

1шт.

Выбрано товаров: 23