Запчасти Case IH 9280 (6-061A) - SYNCHROSHIFT TRANSMISSION ASSEMBLY REGULATOR VALVE (06) - POWER TRAIN

Схема запчастей Case IH 9280 - (6-061A) - SYNCHROSHIFT TRANSMISSION ASSEMBLY REGULATOR VALVE (06) - POWER TRAIN
12
4
10
13
14
3
1
9
8
15
5
11
13
16
12
6
9
2
7
FIT
1:1
100%

Артикул

Название

Примечание

Количество

90-7775T91

TRANSMISSION

ASSEMBLY - mechanical shift, includes parts listed on Figures 6-59C - 6-61E, Includes: Ref. 1 - 16

1шт.

S7000S01F

VALVE

ASSEMBLY - regulator, Includes: Ref. 1 - 16

1шт.

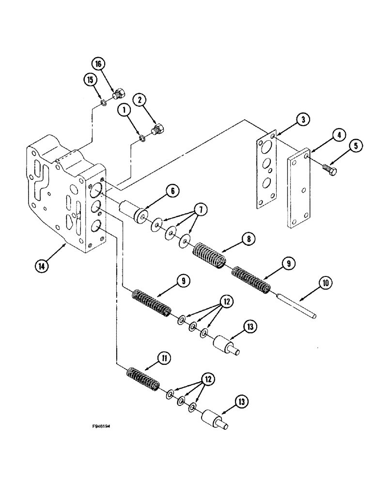
1

S1040S00F

O-RING

plug

1шт.

Included in Gasket Kit 90-7927T91

1шт.

2

S1030S00F

PLUG

- hex, O-ring boss

1шт.

3

S7090S00F

GASKET

- valve cover

1шт.

Included in Gasket Kit 90-7927T91

1шт.

4

S7110S00F

COVER

- valve body

1шт.

5

614-8020

BOLT,Hex, M8 x 1.25 x 20mm

- hex, full threads, 8 - 1.25 x 20 mm

5шт.

6

S7030S01F

VALVE

- regulator

1шт.

7

S7010S00F

SHIM,.039" Thk

1шт.

8

S7120S00F

SPRING

- compression

1шт.

9

S7050S00F

SPRING

- compression

2шт.

10

S7020S00F

STEM

ROD - pressure

1шт.

11

S7070S00F

SPRING

- compression

1шт.

12

S7080S00F

SHIM,.031" Thk

1шт.

13

S7060S00F

VALVE

- lube

2шт.

14

S7040S00F

VALVE BODY

BODY - regulator valve

1шт.

15

S1320S00F

O-RING

- plug

1шт.

Included in Gasket Kit 90-7927T91

1шт.

16

S1390S00F

PLUG

- O-ring boss

1шт.

90-7927T91

GASKET KIT

KIT - gasket, transmission, includes all Ref. as indicated on Figures 6-59C - 6-61E

1шт.

Выбрано товаров: 0