Запчасти Case IH 9280 (6-061E) - SYNCHROSHIFT TRANSMISSION ASSEMBLY LOCK OUT VALVE (06) - POWER TRAIN

Схема запчастей Case IH 9280 - (6-061E) - SYNCHROSHIFT TRANSMISSION ASSEMBLY LOCK OUT VALVE (06) - POWER TRAIN
7
8
8
2
3
2
5
9
1
6
4
FIT
1:1
100%

Артикул

Название

Примечание

Количество

90-7775T91

TRANSMISSION

ASSEMBLY - mechanical shift, includes parts listed on Figures 6-59C - 6-61E, Includes: Ref. 1 - 9

1шт.

90-8009T91

VALVE

ASSEMBLY - lock out, Includes: Ref. 1 - 9

1шт.

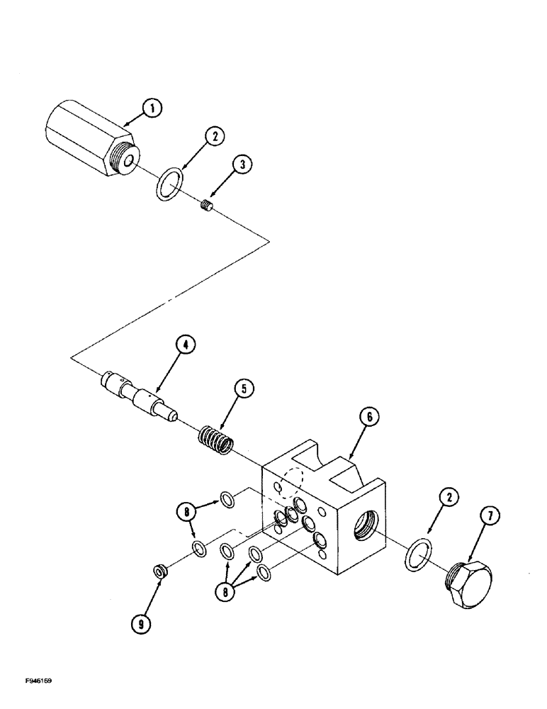
1

33-1820T1

PLUG

- hex cap

1шт.

2

33-1789T1

GASKET

O-RING - plug

2шт.

Included in Gasket Kit 90-7927T91

1шт.

3

S6220S00F

PLUG

lock out valve

1шт.

4

33-1792T1

PISTON

SPOOL, lock out valve

1шт.

5

33-1791T1

SPRING

- return

1шт.

6

90-8019T1

VALVE BODY

BODY - lock out valve

1шт.

7

33-1790T1

PLUG

port

1шт.

8

90-8020T1

GASKET

O-RING, seal

5шт.

Included in Gasket Kit 90-7927T91

1шт.

9

90-8021T1

PLUG

- orifice

1шт.

90-7927T91

GASKET KIT

KIT - gasket, transmission, includes all Ref. as indicated on Figures 6-59C - 6-61E

1шт.

Выбрано товаров: 0