Запчасти Case IH 9280 (9-030) - GRILLE PRIOR TO P.I.N. JEE0033501 (09) - CHASSIS/ATTACHMENTS

Схема запчастей Case IH 9280 - (9-030) - GRILLE PRIOR TO P.I.N. JEE0033501 (09) - CHASSIS/ATTACHMENTS
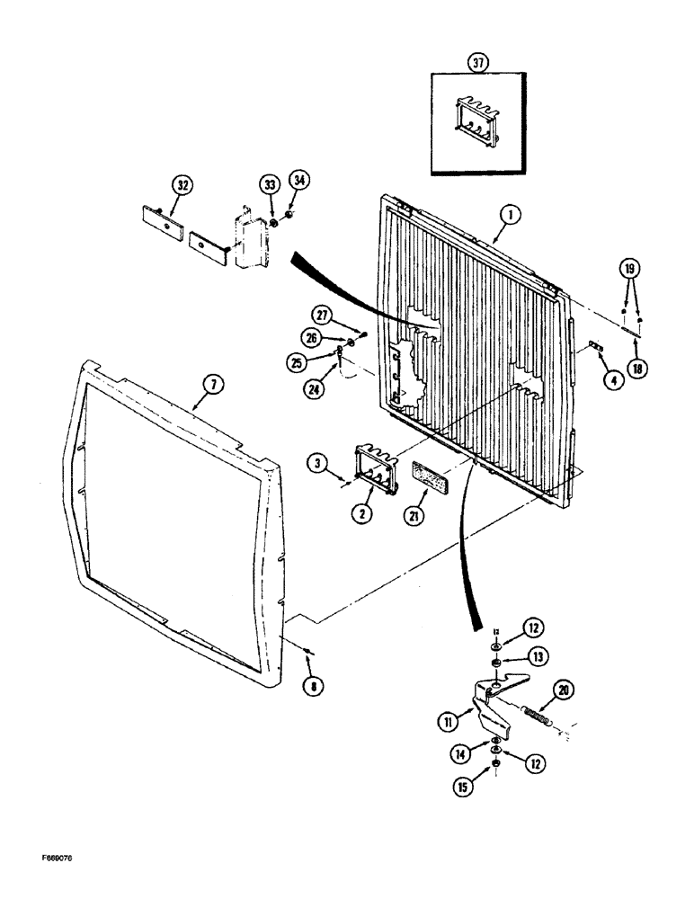
12
13
11
15
34
24
7
27
8
20
26
19
18
4
3
21
12
14
1
32
25
2
33
37
FIT
1:1
100%

Артикул

Название

Примечание

Количество

70-5221T92

GRILLE ASSY

GRILLE ASSEMBLY - hood front, no longer available, order 70-6714T92 grill assembly. Also order (8) 280-16516 screw, and (8) 60-7095T1 nut, required for head lamp mounting., Includes: Ref. 1 - 8

1шт.

1

NSS

NOT SOLD SEPARAT

GRILLE - front

1шт.

2

70-4484T2

SUPPORT

BRACKET - lamp mounting

2шт.

3

1-2503

RIVET,Pop, .146" x .425"

- break mandrel, 5/32 x 27/64 inch

18шт.

4

70-2507T2

LARGE PLATE

PLATE - bracket mounting

3шт.

7

70-5046T1

FRAME

- grille

1шт.

8

19-5588

RIVET

- pop, 3/16 diameter x 3/4 inch

26шт.

11

70-5273T1

LATCH

- grille opening

1шт.

12

496-41041

WASHER,13/32" x 1 1/8" x .134"

- flat, 13/32 x 1-1/8 x 9/64 inch, hardened

2шт.

13

70-5177T1

SPACER

pivot, latch

1шт.

14

19-6266T1

WAVE WASHER

- lock, wave

1шт.

15

19-341

LOCK NUT,3/8" - 16, GB

NUT - hex, self-locking, 3/8 inch NC

1шт.

18

70-1996T3

PIN,6.35mm OD x 111mm L

hinge

2шт.

19

70-2600T2

CIRCLIP

RING - retaining

4шт.

20

90-7524T1

SPRING

latch handle

1шт.

21

70-5258T2

SEAL

- foam, adhesive-backed

1шт.

24

60-5882T1

ROPE

- wire, 50 inch (1270 mm) long, cut from 70-5252T1 bulk rope, see below

1шт.

25

70-5269T1

FERRULE

- wire rope

1шт.

26

495-21031

WASHER,1/4"

- flat, 5/16 x 3/4 x 1/16 inch

1шт.

27

281-14712

SELF-TAP SCREW,Hex Washer, 1/4" - 20 x 3/4"

SCREW - self-tapping, hex washer head, 1/4 NC x 3/4 inch

1шт.

32

60-5969T1

LARGE PLATE

PLATE - mounting, medallion

1шт.

33

495-31025

WASHER,3/16"

- flat, 1/4 x 9/16 x 3/64 inch

2шт.

34

86632551

NUT,#10-24, GB

NUT, LOCK, #10-24, GB

2шт.

37

70-4484T2

SUPPORT

BRACKET - lamp mounting, Serial Range: -JCB0027815

2шт.

70-5252T1

ROPE

- wire, bulk, 300 inch (7620 mm) long

1шт.

Выбрано товаров: 25