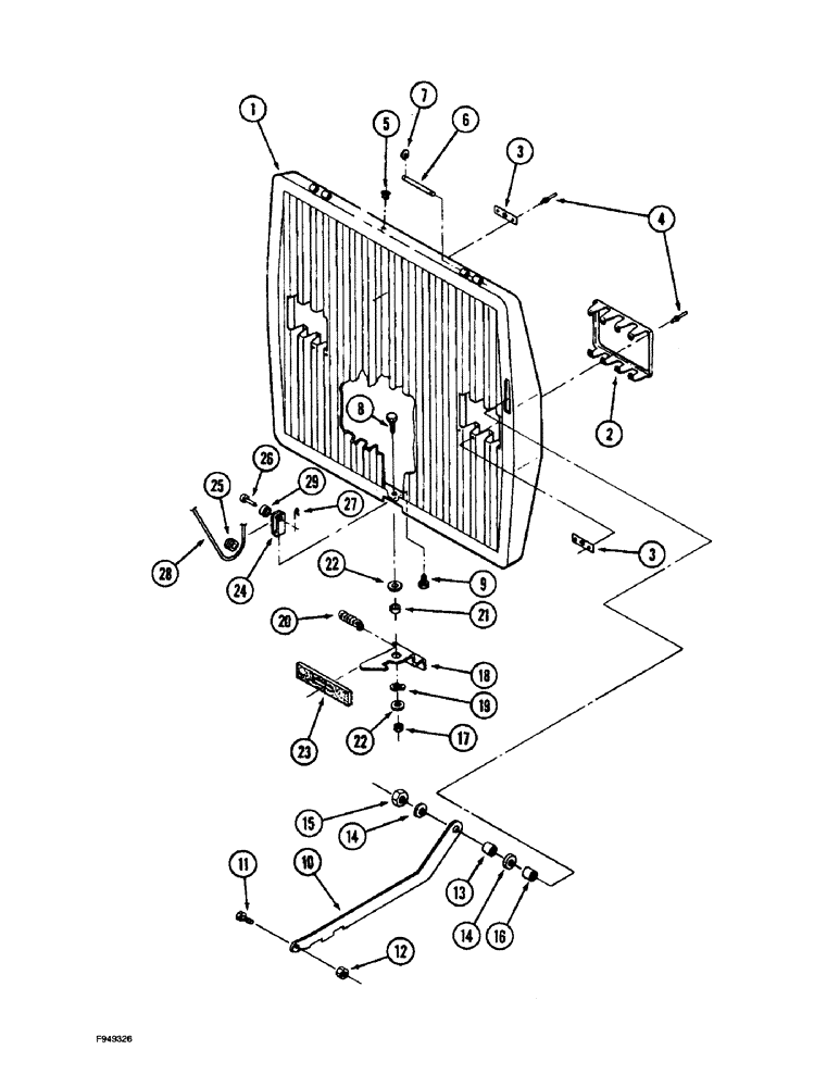
Запчасти Case IH 9280 (9-031A) - GRILLE P.I.N. JEE0033501 & AFTER (09) - CHASSIS/ATTACHMENTS

Схема запчастей Case IH 9280 - (9-031A) - GRILLE P.I.N. JEE0033501 & AFTER (09) - CHASSIS/ATTACHMENTS
10
16
8
9
27
24
14
7
11
6
4
15
5
13
25
18
3
1
12
19
2
3
17
29
22
26
14
22
21
23
28
20
FIT
1:1
100%

Артикул

Название

Примечание

Количество

70-6590T91

GRILLE

ASSEMBLY - hood front, Includes: Ref. 1 - 4

1шт.

1

70-6591T1

GRILLE

- front

1шт.

2

70-6727T1

SUPPORT

BRACKET - lamp mounting

2шт.

3

70-2507T2

LARGE PLATE

PLATE - bracket mounting

3шт.

4

151-515

RIVET,Pop, .146" x .425"

- break mandrel, 5/32 x 27/64 inch

18шт.

5

19-6113

NYLON BEARING,0.484" ID x 0.578" OD x 0.14"

BUSHING - nylon, split, flanged

1шт.

6

70-1996T3

PIN,6.35mm OD x 111mm L

hinge

2шт.

7

70-2600T2

CIRCLIP

RING - retaining

4шт.

8

426-616

BOLT,Hex, 3/8" - 16 x 1", Gr 8

1шт.

9

426-412

BOLT,Hex, 1/4" - 20 x 3/4", Gr 8

- hex, 1/4 NC x 3/4 inch, grade 8

1шт.

10

70-6600T1

LATCH

- grille

1шт.

11

426-612

BOLT,Hex, 3/8" - 16 x 3/4", Gr 8

- hex, 3/8 NC x 3/4 inch, grade 8

1шт.

12

425-106

NUT,3/8"-16, Cl 5

1шт.

13

70-5814T1

RING

BUSHING, grille latch

1шт.

14

495-21056

WASHER,1/2"

- flat, 9/16 x 1-3/8 x 7/64 inch

2шт.

15

231-4118

LOCK NUT,1/2"-13, GB

NUT - hex, self-locking, 1/2 inch NC

1шт.

16

70-2806T1

SPACER

grille latch

1шт.

17

425-146

JAM NUT,3/8" - 16, Gr 5

- hex, jam, 3/8 inch NC

1шт.

18

70-5273T1

LATCH

- grille opening

1шт.

19

19-6266T1

WAVE WASHER

- lock, wave

1шт.

20

90-7524T1

SPRING

latch

1шт.

21

70-5177T1

SPACER

latch

1шт.

22

496-41041

WASHER,13/32" x 1 1/8" x .134"

- flat, 13/32 x 1-1/8 x 9/64 inch, hardened

2шт.

23

70-5258T2

SEAL

- foam, adhesive-backed

1шт.

24

70-5812T1

CLEVIS

- pulley

1шт.

25

70-5808T1

PULLEY

wire rope

1шт.

26

427-4077

CLEVIS PIN,1/4" x .770"

PIN, CLEVIS, , Hardened 1/4" x .770"

1шт.

27

432-412

COTTER PIN,1/16" x 3/4"

PIN, SPLIT (COTTER), 1/16" x 3/4"

1шт.

28

70-6732T1

ROPE

- wire, 178 inch (4521 mm) long, cut from 70-5252T1 bulk rope, see below

1шт.

29

70-5177T1

SPACER

pulley

1шт.

70-5252T1

ROPE

- wire, bulk, 300 inch (7620 mm) long

1шт.

Выбрано товаров: 31