Запчасти Case IH 9280 (8-18) - HYDRAULIC TANK (08) - HYDRAULICS

Схема запчастей Case IH 9280 - (8-18) - HYDRAULIC TANK (08) - HYDRAULICS
6
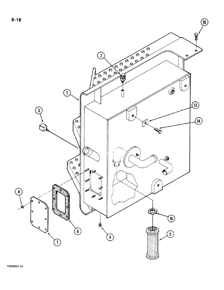
3
14
16
4
7
13
1
2
8
15
5
FIT
1:1
100%

Артикул

Название

Примечание

Количество

1

50-3201T1

RESERVOIR, HYDRAULIC

TANK - hydraulic, with steps

1шт.

2

1971726C1

BREATHER,1/4" - 18

- hydraulic tank

1шт.

3

47-3580

DIPSTICK

- oil check

1шт.

4

31-35

PLUG

- pipe, square head, 1/2 inch PT

1шт.

5

50-2029T1

FILTER SCREEN

FILTER - suction, screen

1шт.

6

2-1914

GASKET

- cover

1шт.

7

1-4058

PLATE

COVER - plate, hydraulic tank

1шт.

8

9413979

LOCK NUT,3/8"-16, GC

NUT - hex lock, 3/8 inch NC, Grade 8

8шт.

13

70-4268T1

WASHER - flat, rectangular

3шт.

14

413-824

BOLT,Hex, 1/2" - 13 x 1-1/2", Gr 5

3шт.

15

463-33112

SCREW,Hex Wash Hd, 5/16"-18 x 3/4"

- hex washer, 5/16 NC x 3/4 inch

2шт.

16

19-953

LOCK NUT

NUT - lock

1шт.

Выбрано товаров: 12