Запчасти Case IH CR-1225 (02-12) - INSTRUMENTATION GROUP, SEAT (06) - ELECTRICAL

Схема запчастей Case IH CR-1225 - (02-12) - INSTRUMENTATION GROUP, SEAT (06) - ELECTRICAL
15
5
14
13
17
4
5
7
2
10
18
3
12
4
16
6
8
1
11
9
5
FIT
1:1
100%

Артикул

Название

Примечание

Количество

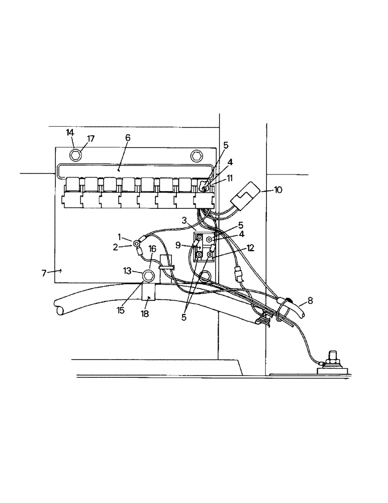
1-7

20-2327T91

PLATE ASSY.

Instrumentation Group, consists of Ref. 1-7

1шт.

1

19-5773

SCREW,Hex, 1/4" - 20 x 1 1/4", W/ LW

Machine Screw

1шт.

2

19-76

NUT,1/4"-20, G5

1шт.

3

20-1171T1

SUPPORT

Circuit Breaker Bracket

1шт.

4

19-572

SCREW,Sl Pan Hd, #10 - 32 x 1/2", Gr 5

Machine Screw

3шт.

5

19-481

SERRATED NUT

Keps Nut

5шт.

6

60-5053T1

DECAL

Relay Decal

1шт.

7

60-5052T1

LARGE PLATE

Plate

1шт.

8

20-2259T2

HARNESS

Air Seat Wire Harness

1шт.

9

22-677

BAR

Buss Bar

1шт.

10

22-738

DIODE

1шт.

11

1-7877

RELAY

1шт.

12

22-671

BREAKER

Circuit Breaker (15 Amp)

1шт.

13

19-223

WASHER,1/4"

2шт.

14

19-700

WASHER,5/16"

2шт.

15

280129

NUT,1/4"-20

2шт.

16

19-2

BOLT,Hex, 1/4" - 20 x 1", Gr 5

Capscrew

2шт.

17

19-508

LOCK NUT

Lock Nut

2шт.

18

1-2667

CLAMP

1шт.

Выбрано товаров: 19