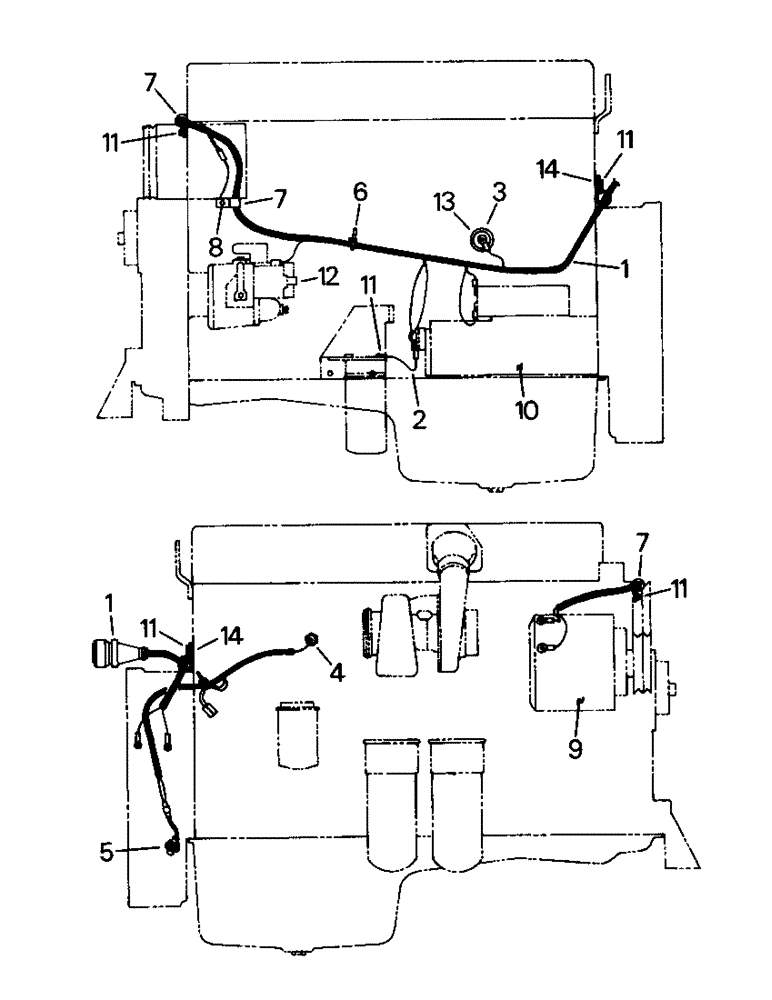
Запчасти Case IH CR-1280 (02-02) - ENGINE WIRING, CUMMINS L10 ENGINE (06) - ELECTRICAL

Схема запчастей Case IH CR-1280 - (02-02) - ENGINE WIRING, CUMMINS L10 ENGINE (06) - ELECTRICAL
11
7
6
11
14
3
5
1
11
11
9
12
7
1
13
2
14
10
11
8
7
4
FIT
1:1
100%

Артикул

Название

Примечание

Количество

1

20-2032T2

HARNESS

Engine Wire Harness

1шт.

2

20-2164T1

HARNESS

Wire

1шт.

3

1-2227T2

SENDER UNIT

Oil Press, Sender

1шт.

4

22-681

IGNITION SWITCH

Water Temp Switch

1шт.

5

20-2129T1

SENSOR

Magnetic Sensor

1шт.

6

22-824

CABLE TIE,3/16" x 7 1/4"

STRAP, CABLE, 3/16" x 7 1/4"

2шт.

7

31-2488

CLAMP

2шт.

8

40-1091

BOLT,Hex, M10 x 1.5 x 20mm, Gr 8.8

Capscrew (metric)

1шт.

9

Alt Assy (see Fig. 2-5)

1шт.

10

Starter Assy (see Fig. 2-6 & 2-8)

1шт.

11

NAP

Existing Hardware

1шт.

12

NAP

Fuel Solenoid (Cummins part)

1шт.

13

31-607

REDUCER

1шт.

14

31-1775

CLAMP

1шт.

Выбрано товаров: 0