Запчасти Case IH CR-1280 (08-06) - HYDRAULIC TANK & MOUNTING (07) - HYDRAULICS

Схема запчастей Case IH CR-1280 - (08-06) - HYDRAULIC TANK & MOUNTING (07) - HYDRAULICS
3
8
1
10
2
6
9
11
6
5
4
7
12
7
FIT
1:1
100%

Артикул

Название

Примечание

Количество

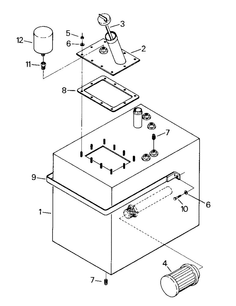
1

50-2503T1

TANK

Hydraulic Tank

1шт.

2

50-2509T1

PLATE

Cover Plate

1шт.

3

50-2558T1

DIPSTICK

1шт.

4

50-2029T1

FILTER SCREEN

Suction Screen

1шт.

50-1509T1

FILTER

Suction Screen (interchangeable with P/N 50-2029T1)

1шт.

5

19-78

SPECIAL NUT,3/8"-16, G5

10шт.

6

19-224

WASHER,3/8", SAE

12шт.

7

31-35

PLUG

Pipe Plug

3шт.

8

50-2429T1

GASKET

1шт.

9

50-2518T1

BAND

Mounting Band

1шт.

10

19-6169

BOLT,3/8" - 16 x 3 1/32", Gr 5

Capscrew

2шт.

11

31-1872

ADAPTER,1/2"-14 Male NPTF x 1/2"-14 Female NPTF

Reducer

1шт.

12

18-503

FILTER

Press. Filter Valve

1шт.

18-1633

BREATHER

Element

1шт.

Выбрано товаров: 14