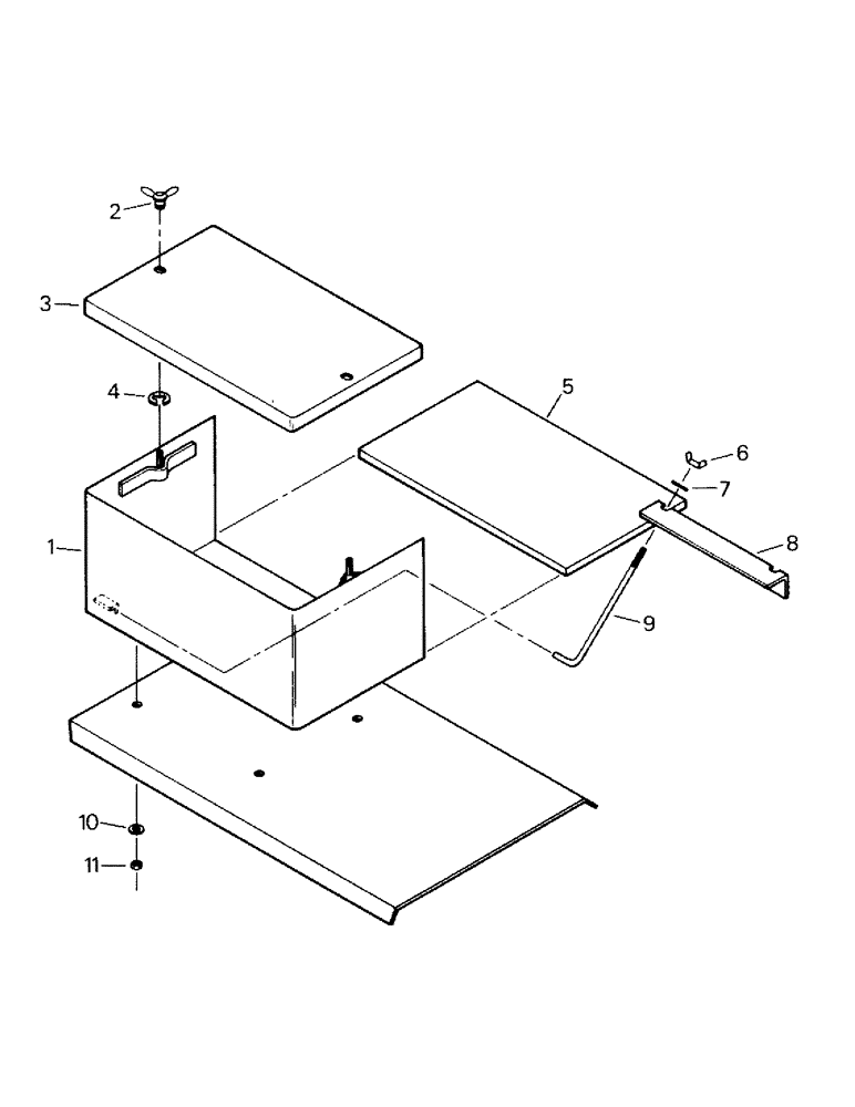
Запчасти Case IH KM-280 (06-03) - BATTERY BOX AND MOUNTING (12) - FRAME

Схема запчастей Case IH KM-280 - (06-03) - BATTERY BOX AND MOUNTING (12) - FRAME
3
1
11
7
5
4
2
8
9
6
10
FIT
1:1
100%

Артикул

Название

Примечание

Количество

1

70-1161T2

TERMINAL BOX

Battery Box

1шт.

2

45-219

NUT

Wing Nut

2шт.

3

70-1148T1

COVER

1шт.

4

45-216

CLIP,ELECTRICAL

Clip

2шт.

5

70-1153T1

INSULATOR

Battery Insulator

1шт.

6

19-340

NUT

Wing Nut

2шт.

7

19-109

WASHER,1/2"

2шт.

8

70-1142T2

ANGLE

1шт.

9

70-1152T2

ROD

2шт.

10

19-107

WASHER

4шт.

11

19-78

SPECIAL NUT,3/8"-16, G5

4шт.

Выбрано товаров: 11