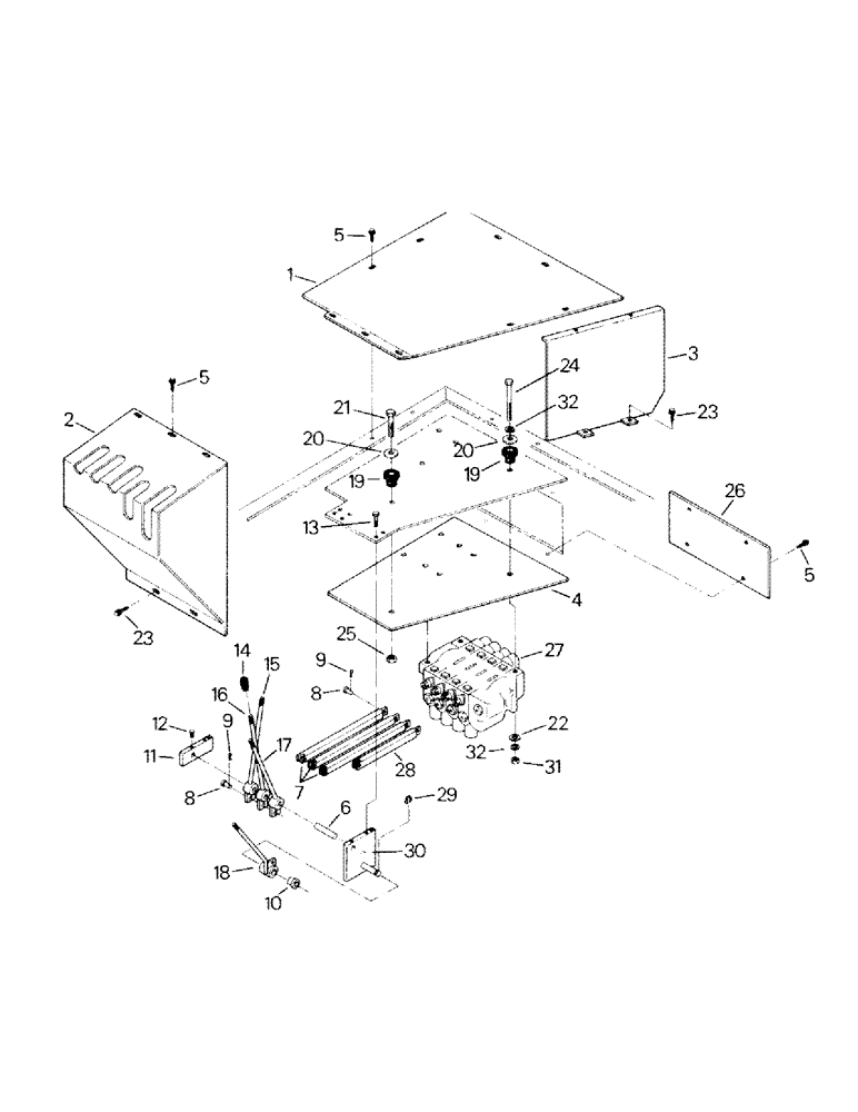
Запчасти Case IH KM-360 (01-16) - HYDRAULIC VALVE CONTROLS (10) - CAB

Схема запчастей Case IH KM-360 - (01-16) - HYDRAULIC VALVE CONTROLS (10) - CAB
17
13
29
26
5
9
8
23
8
19
1
6
23
20
18
31
5
28
16
19
27
3
14
32
5
4
30
10
11
32
12
22
20
7
9
2
24
21
15
25
FIT
1:1
100%

Артикул

Название

Примечание

Количество

1

60-1239T1

Cover

1шт.

2

60-1238T1

COVER

1шт.

3

54-379

Panel

1шт.

4

54-385T1

LARGE PLATE

Mount Plate

1шт.

5

281-13712

SELF-TAP SCREW,Hex Wash Hd, 1/4" x 3/4"

Tapping Screw

13шт.

6

1-1409

Control Shaft

1шт.

7

54-386

PUSH ROD

3шт.

8

19-144

CLEVIS PIN,1/4" x 0.77"

8шт.

9

19-170

COTTER PIN,1/16" x 3/4"

Pin, Split (Cotter), 1/16" x 3/4"

8шт.

10

24-206

BEARING CONE,0.5" ID x 0.75" OD x 0.3"

Bearing

8шт.

11

54375

Pivot Mount

1шт.

12

483-1256

SET SCREW,Hex Soc, 1/4"-20 x 3/8"

2шт.

13

19-1

BOLT,Hex, 1/4" - 20 x 3/4", Gr 5

Capscrew

4шт.

14

24-219

KNOB

4шт.

15

54-380

HANDLE

(see Note)

1шт.

16

54-383

HANDLE

1шт.

17

54-382

HANDLE

1шт.

18

1-1813

HANDLE

1шт.

19

18-511

MOUNTING PARTS

Rubber Mount

4шт.

20

19-500

WASHER

4шт.

21

19-730

CAPSCREW,Hex, 7/16" - 14 x 2 1/2", Gr 5

1шт.

22

19-643

WASHER,7/16", SAE

3шт.

23

19-957

SCREW

Tapping Screw

4шт.

24

19-333

BOLT,Hex, 5/16" - 18 x 4", Gr 5

Capscrew

3шт.

25

231-4117

LOCK NUT,7/16"-14, GB

Nut

1шт.

26

4-1000

COVER

Access Cover

1шт.

27

Hydraulic Control Valve (Fig. 8-20)

1шт.

28

1-1812

Push Rod

1шт.

29

1-1807

RING, SNAP

Snap Ring

1шт.

30

1-1811

MOUNTING PARTS

Pivot Mount

1шт.

31

19-508

LOCK NUT

3шт.

32

19-106

WASHER,5/16", SAE

6шт.

Выбрано товаров: 32