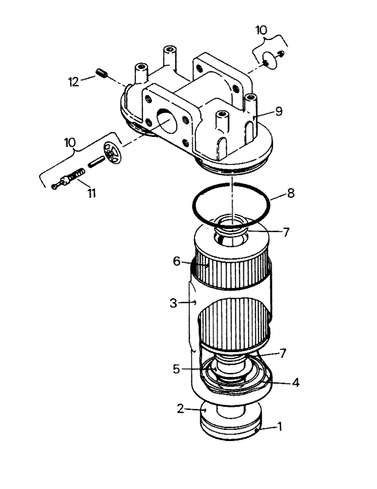
Запчасти Case IH KP-1400 (08-13) - HYDRAULIC OIL FITLER ASSEMBLY (07) - HYDRAULICS

Схема запчастей Case IH KP-1400 - (08-13) - HYDRAULIC OIL FITLER ASSEMBLY (07) - HYDRAULICS
10
7
2
8
4
12
3
1
6
9
11
7
10
5
FIT
1:1
100%

Артикул

Название

Примечание

Количество

50-1389T91

FILTER

OIL FILTER ASSY, consists of ref., Serial Range: 1-9

1шт.

1

1-6200

POST

CENTER POST

2шт.

2

18-96

GASKET

CENTER POST GASKET

2шт.

3

18-95

HOUSING

FILTER HOUSING

2шт.

4

18-94

SPRING

CONICAL SPRING

2шт.

5

18-93

WASHER

BACKUP WASHER

2шт.

6

50-1911T91

HYDRAULIC OIL FILTER

FILTER ELEMENT KIT (incl refs. 2, 7, & 8)

2шт.

7

18-92

SEAL

FILTER ELEMENT SEAL

4шт.

8

18-91

O-RING

HOUSING SEAL

2шт.

9

NSS

NOT SOLD SEPARAT

FILTER HEAD

1шт.

10

50-1876T91

BY-PASS VALVE

BY-PASS ASSY KIT (incl ref. 11)

1шт.

11

50-1877T1

SPRING

1шт.

12

31-38

PLUG

PIPE PLUG (see fig. note)

2шт.

Выбрано товаров: 13