Качественные детали и логистика
Оригинальные и аналоговые запчасти с доставкой по России, Казахстану и Беларуси
©2022 PartSell ООО "Система" ИНН 2463123282 ОГРН 1212400004838
Центральный офис: г. Красноярск, Академика Киренского, д.87, пом.4
Телефон: 8 (800) 777-65-74 Email: zakaz@partsell.ru
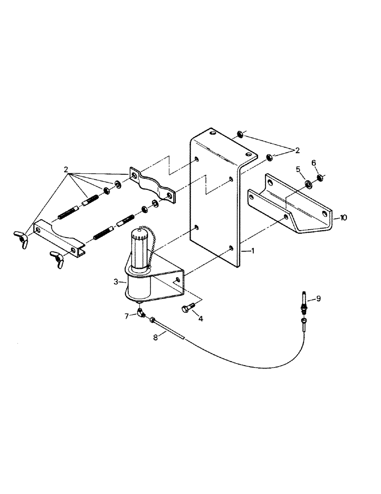
(04-03) - ETHER START AID
№
Артикул
Название
Примечание
Количество
1
47-4556
BRACKET
1шт.
2
31-1470
CLAMP
Assy
3
20-1346T1
VALVE
Solenoid Valve
4
19-2
BOLT,Hex, 1/4" - 20 x 1", Gr 5
Capscrew
2шт.
5
19-223
WASHER,1/4"
6
19-76
NUT,1/4"-20, G5
7
1-8564
FITTING
Elbow
8
31-1347
TUBE,0.125" OD, 24" Length
Tubing
9
6-1603
JET
Atomizer
10
90-2933T1
11
47-4572
CYLINDER
Ether Start Fluid (cylinder not shown)
Выбрано товаров: 0