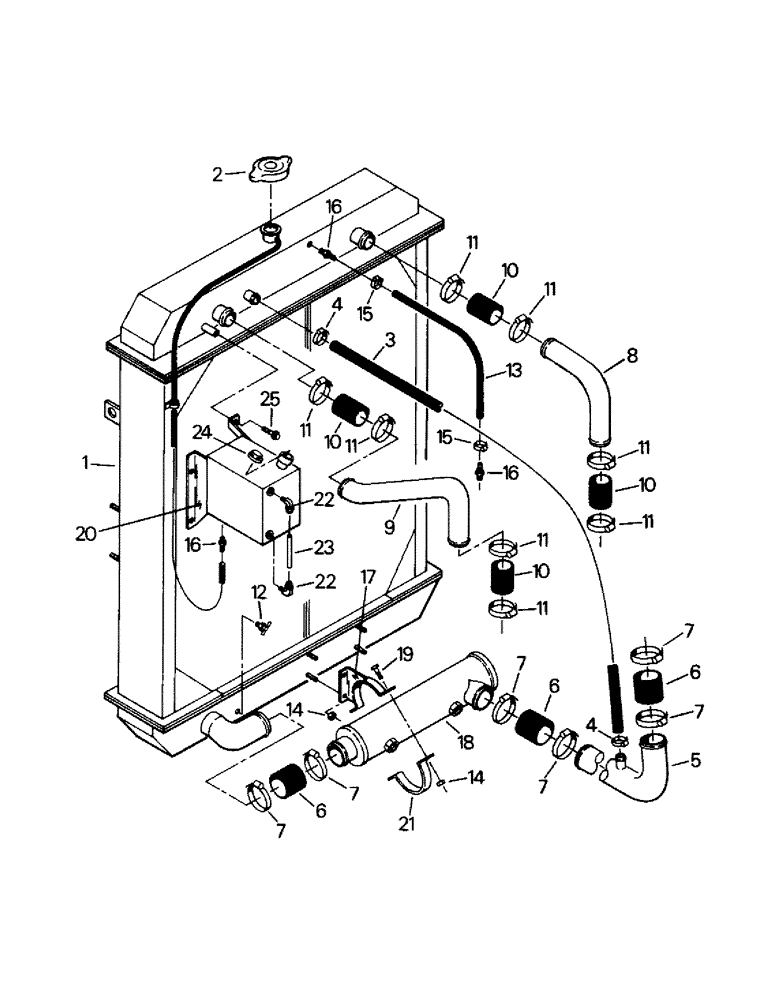
Запчасти Case IH KP-525 (04-09) - RADIATOR HOSES (04) - Drive Train

Схема запчастей Case IH KP-525 - (04-09) - RADIATOR HOSES (04) - Drive Train
1
10
9
10
10
11
7
14
11
10
22
11
13
16
11
11
14
5
7
17
21
16
22
23
20
4
6
15
3
7
7
6
15
2
4
8
6
11
25
7
18
11
11
16
7
24
19
12
FIT
1:1
100%

Артикул

Название

Примечание

Количество

1

Radiator Assy (see fig. 4-10)

1шт.

2

90-4253T1

CAP

Radiator Cap

1шт.

3

31-2393

HOSE

1шт.

4

32-207

HOSE

Clamp

2шт.

5

90-3669T2

TUBE,3.5 mm OD x 18.78, 10.13 mm L

1шт.

6

31-2222

HOSE

3шт.

7

32-21

HOSE CLAMP,#64, 3.56/4.50 Type F Worm

Clamp

6шт.

8

47-3774

TUBE

1шт.

9

47-3775

TUBE

1шт.

10

31-1206

HOSE

4шт.

11

32-23

CLAMP,#44, 2.31/3.25 Type F Worm

8шт.

12

31-157

COCK, DRAIN

Drain Cock

1шт.

13

53-62

HOSE

1шт.

14

232-4136

LOCK NUT,3/8"-16, GC

8шт.

15

32-30

HOSE CLAMP,#8, 0.50/0.91 Type M Worm

Clamp

2шт.

16

31-137

FITTING

Barbed Fitting

3шт.

17

90-3665T1

BRACKET

Mounting Bracket

2шт.

18

90-3667T1

COOLER

Oil Cooler

1шт.

19

19-17

BOLT,Hex, 3/8" - 16 x 1", Gr 5, Full Thd

Capscrew

4шт.

20

90-4255T1

TANK

Overflow Tank

1шт.

21

90-3663T1

Strap

2шт.

22

31-2327

ADAPTER

Elbow

2шт.

23

31-2326

HOSE

1шт.

24

90-4252T1

CAP

1шт.

25

19-5842

BOLT,Hex, 5/16" - 18 x 3/4", Gr 5

Flanged Capscrew

1шт.

Выбрано товаров: 25