Запчасти Case IH KP-525 (04-10) - RADIATOR ASSEMBLY (04) - Drive Train

Схема запчастей Case IH KP-525 - (04-10) - RADIATOR ASSEMBLY (04) - Drive Train
9
11
4
10
2
1
13
14
11
13
15
13
6
7
8
13
12
10
6
14
3
5
7
FIT
1:1
100%

Артикул

Название

Примечание

Количество

90-3668T91

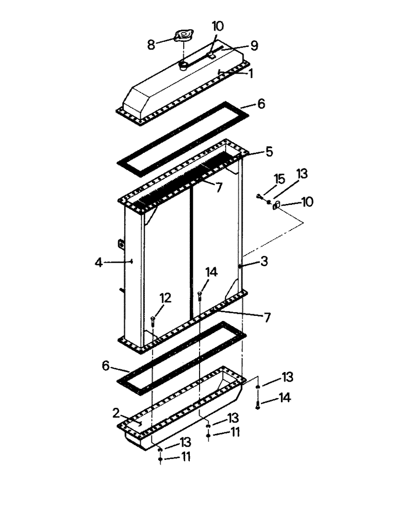
Radiator Assy, Includes: Ref. 1 - 15

1шт.

1

90-4643T1

TOP

Tank

1шт.

2

90-4644T1

TANK

Bottom Tank

1шт.

3

90-4645T1

Side Member (Right)

1шт.

4

90-4646T1

Side Member (Left)

1шт.

5

90-1552T1

CORE

1шт.

6

90-1553T1

GASKET

Header Gasket

2шт.

7

2-4354T1

BAR

Header Bar

4шт.

8

90-4253T1

CAP

Radiator Cap

1шт.

9

31-1790

HOSE ASSY.

Overflow Hose

1шт.

10

1-2601

CLIP

3шт.

11

19-77

NUT,5/16"-18, G5

84шт.

12

19-234

BOLT,Hex, 5/16" - 18 x 1 1/4", Gr 5

Capscrew

24шт.

13

19-116

LOCK WASHER,5/16"

5/16"

116шт.

14

19-7

BOLT,Hex, 5/16" - 18 x 1", Gr 5

Capscrew

88шт.

15

19-6

BOLT,5/16" - 18 x 3/4", Gr 5

Capscrew

4шт.

Выбрано товаров: 16