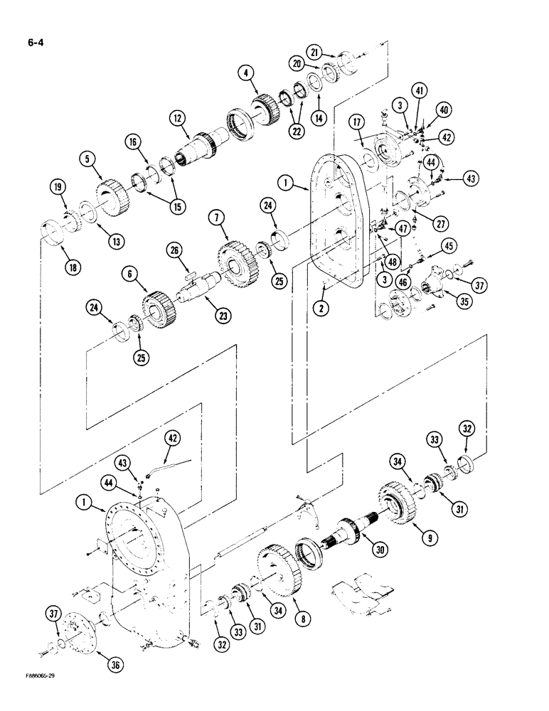
Запчасти Case IH KP-525 (6-04) - TRANSMISSION ASSEMBLY, FOUR SPEED TRANSFER CASE (06) - POWER TRAIN

Схема запчастей Case IH KP-525 - (6-04) - TRANSMISSION ASSEMBLY, FOUR SPEED TRANSFER CASE (06) - POWER TRAIN
3
31
43
19
22
16
31
34
42
15
47
32
32
23
2
37
43
25
24
44
30
17
25
21
1
33
6
24
34
1
35
5
45
13
36
14
9
8
20
3
42
7
12
37
33
4
48
27
26
44
41
40
46
18
FIT
1:1
100%

Артикул

Название

Примечание

Количество

90-3761T92

TRANSMISSION

ASSEMBLY - 4 speed transfer case, Includes: Ref. 1 - 48

1шт.

1

90-3746T1

HOUSING

- transmission, front and rear halves

1шт.

2

1-1857

PIN - dowel

2шт.

3

19-45

BOLT,1/2" - 13 x 1 1/2", Gr 5

- hex, 1/2 NC x 1-1/2 inch

29шт.

4

90-3607T1

GEAR

- drive, 27 tooth

1шт.

5

90-3608T2

GEAR

- drive, 37tooth

1шт.

6

90-3609T1

GEAR

- idler, 35 tooth

1шт.

7

90-3610T1

GEAR

- idler, 45 tooth

1шт.

8

90-3611T1

GEAR

- driven, 53 tooth

1шт.

9

90-3612T1

GEAR

- driven, 43 tooth

1шт.

12

90-3689T2

SHAFT

- input

1шт.

13

90-3685T1

SPACER

- bearing, input shaft front

1шт.

14

90-3684T1

SPACER

- bearing, input shaft rear

1шт.

15

90-4398T1

NEEDLE BEARING,1" OD x 0.25"

- needle

128шт.

16

90-4399T2

SPACER

- needle bearing

1шт.

17

90-3768T1

SHIM

- end cap, 0.005 inch thick

1шт.

17

90-3769T1

SHIM

- end cap, 0.007 inch thick

1шт.

17

90-3770T1

SHIM

- end cap, 0.020 inch thick

1шт.

18

90-3678T1

BEARING, CUP

CUP - bearing

1шт.

19

90-3677T1

BEARING

CONE - bearing

1шт.

20

90-3675T1

BEARING, CUP,168.3mm OD x 30.21mm W

CUP - bearing

1шт.

21

90-3676T1

ROLLER BEARING,95.25mm ID x 41.35mm W

CONE - bearing

1шт.

22

90-3680T1

ROLLER BEARING,4" ID x 4.5" OD x 1.5"

- roller

2шт.

23

90-3682T1

SHAFT

- idler

1шт.

24

90-3673T1

CUP

- bearing

2шт.

25

90-3674T1

CONE

- bearing

2шт.

26

90-3671T1

KEY

- drive, idler shaft

2шт.

27

90-3771T1

SHIM

- end cap, 0.005 inch thick

1шт.

27

90-3772T1

SHIM

- end cap, 0.007 inch thick

1шт.

27

90-3773T1

SHIM

- end cap, 0.020 inch thick

1шт.

30

90-3683T1

SHAFT

- output

1шт.

31

90-3679T1

BEARING

ASSEMBLY - two row

2шт.

32

ST985

CUP

- bearing

2шт.

33

90-3672T1

BEARING

CONE - bearing

2шт.

34

90-3681T1

OIL SEAL

RING - retaining, internal

2шт.

35

90-3750T1

LINKAGE YOKE

YOKE - output, rear, 8C

1шт.

36

90-3751T1

FORK

YOKE - output, front, 8C

1шт.

37

31-2223

O-RING

- seal, output shaft

2шт.

40

31-2407

ADAPTER

TEE - adjustable, Includes: Ref. 41

1шт.

41

31-1335

O-RING,8-1, 90 Duro, .644" ID x .087" Thk

- 41/64 x 5/64 inch

1шт.

42

90-4291T1

TUBE ASSY.,.375" OD

TUBE - lubrication

1шт.

43

31-2400

ADAPTER

ELBOW - adjustable, orificed, Includes: Ref. 44

2шт.

44

31-1099

O-RING,0.078" Thk x 0.468" ID, -906, Cl 6, 90 Duro

1шт.

45

31-1434

ELBOW,90 Degree, 3/4"-16, 37 Degree x 1 1/16"-12, O-Ring

- adjustable, 1-1/16 x 3/4 inch thread, Includes: Ref. 46

1шт.

46

237-6012

O-RING,0.116" Thk x 0.924" ID, -912, Cl 6, 90 Duro

12-1, 90 Duro, .924 ID x .116" Thk

1шт.

47

31-2250

ELBOW,90 Degree, 1 5/8"-12, 37 Degree x 1 5/16"-12, O-Ring

- adjustable, 1-5/16 x 1-5/8 inch thread, Includes: Ref. 48

1шт.

48

31-587

O-RING,16-1, 90 Duro, 1.171" ID x .116" Thk

- 1-3/16 x 1/8 inch

1шт.

Выбрано товаров: 47