Запчасти Case IH KP-525 (6-06) - TRANSMISSION ASSEMBLY, FOUR SPEED TRANSFER CASE (CONTD) (06) - POWER TRAIN

Схема запчастей Case IH KP-525 - (6-06) - TRANSMISSION ASSEMBLY, FOUR SPEED TRANSFER CASE (CONTD) (06) - POWER TRAIN
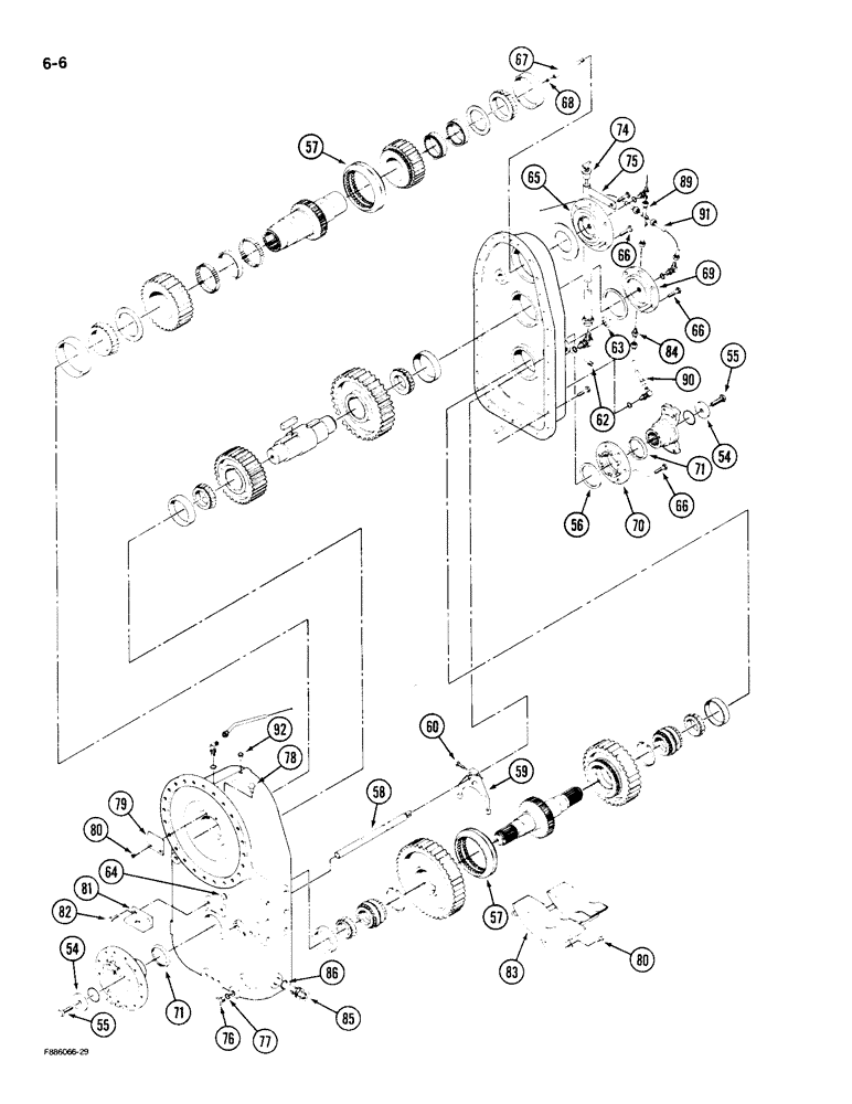
66
63
85
92
86
71
79
55
68
62
76
81
59
80
77
84
82
74
66
56
90
66
70
57
55
80
75
78
67
71
54
69
89
58
57
83
60
54
64
91
65
FIT
1:1
100%

Артикул

Название

Примечание

Количество

54

19-5733

WASHER

- flat, hardened

2шт.

55

19-822

BOLT,Hex, 5/8" - 11 x 1 1/2", Gr 8, Full Thd

- hex, 5/8 NC x 1-1/2 inch, Grade 8

2шт.

56

90-3774T1

SHIM

- end cap, 0.005 inch thick

1шт.

56

90-3775T1

SHIM

- end cap, 0.007 inch thick

1шт.

56

90-3776T1

SHIM

- end cap, 0.020 inch thick

1шт.

57

90-3618T1

COLLAR

- shift

2шт.

58

90-3617T1

ROD

- shifter

2шт.

59

90-3620T1

FORK

- shift

2шт.

60

25279R1

BOLT,Hex, 1/2" - 20 x 2", Gr 8

- hex, 1/2 NF x 2 inch, Grade 8

2шт.

62

1-1852

PLUNGER

- ball, shift rod detent

2шт.

63

1-1850

SEAL

- shift rod

2шт.

64

90-1716T1

PLUG

- soft, shift rod

1шт.

65

90-3766T2

CAP

- end, input shaft

1шт.

66

19-44

BOLT,Hex, 1/2" - 13 x 1 1/4", Gr 5

- hex, 1/2 NC x 1-1/4 inch

17шт.

67

90-5798T1

NIPPLE, LUBE

NIPPLE - pipe, lubrication

1шт.

68

31-2408

PLUG - pipe, orificed

1шт.

69

90-3624T1

CAP

- end, idler shaft

1шт.

70

90-3622T1

CAP

- end, output shaft

1шт.

71

90-3779T1

SEAL

- shaft, output

2шт.

74

90-3939T2

DIPSTICK

- oil level

1шт.

75

90-3938T1

TUBE,23.1, 5.25 mm L

- dipstick

1шт.

76

9410363

PLUG

- o-ring, 1-5/16 inch thread, Includes: Ref. 77

1шт.

77

31-587

O-RING,16-1, 90 Duro, 1.171" ID x .116" Thk

- 1-3/16 x 1/8 inch

1шт.

78

1-1359

BREATHER

VENT - breather

1шт.

79

90-3762T1

PLATE

- deflector

1шт.

80

19-5842

BOLT,Hex, 5/16" - 18 x 3/4", Gr 5

- flanged head, 5/16 NC x 3/4 inch

5шт.

81

90-3763T1

BRACKET

- mounting, MPH sensor

1шт.

82

19-16

BOLT,Hex, 3/8" - 16 x 3/4", Gr 5

- hex, 3/8 NC x 3/4 inch

2шт.

83

90-4243T1

BAFFLE

- oil

1шт.

84

90-4669T1

VALVE

ASSEMBLY - check

1шт.

85

90-4251T1

TUBE

ASSEMBLY - oil return, Includes: Ref. 86

1шт.

86

31-587

O-RING,16-1, 90 Duro, 1.171" ID x .116" Thk

- 1-3/16 x 1/8 inch

1шт.

89

90-4670T1

TUBE ASSY.,0.5" OD x 6" L

TUBE - lubrication

1шт.

90

90-4671T1

TUBE,.5" OD x 17.35" L

- lubrication

1шт.

91

90-4241T1

TUBE,.375" OD

- lubrication

1шт.

92

31-2286

PLUG

- hole

1шт.

19-6193

SEALANT

SEALANT - flange, 50 ml tube

1шт.

Выбрано товаров: 37