Запчасти Case IH KR-1280 (04-42) - MODULATOR VALVE ASSEMBLY (04) - Drive Train

Схема запчастей Case IH KR-1280 - (04-42) - MODULATOR VALVE ASSEMBLY (04) - Drive Train
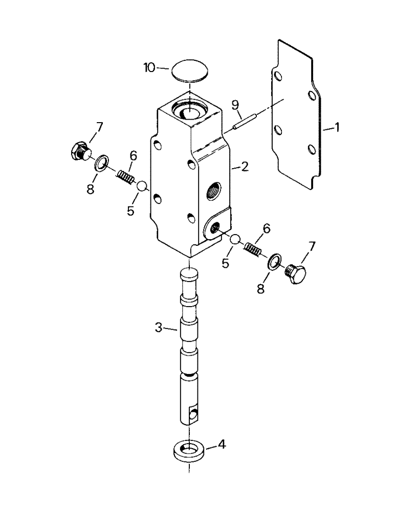
5
5
2
7
9
6
7
8
8
6
4
3
1
10
FIT
1:1
100%

Артикул

Название

Примечание

Количество

90-5879T91

VALVE

Modulator Valve Assy, consists of Ref. 1-11

1шт.

1

90-5984T1

GASKET

1шт.

2

NSS

NOT SOLD SEPARAT

Valve Body

1шт.

3

NSS

NOT SOLD SEPARAT

Spool

1шт.

4

90-5977T1

OIL SEAL

1шт.

5

90-5978T1

BALL

Steel Ball

2шт.

6

90-5979T1

SPRING

2шт.

7

90-5980T1

PLUG

2шт.

8

90-5981T1

GASKET

2шт.

9

19-6185

DOWEL,5/32" x 1 1/4"

Pin

1шт.

10

90-5983T1

PLUG

Expansion Plug

1шт.

11

90-5982T1

Adhesive (not shown)

1шт.

Выбрано товаров: 12