Запчасти Case IH KS-325 (04-19) - TRANSFER CASE MOUNTING (04) - Drive Train

Схема запчастей Case IH KS-325 - (04-19) - TRANSFER CASE MOUNTING (04) - Drive Train
2
3
4
3
8
9
9
5
6
7
10
8
8
1
7
3a
2
7
FIT
1:1
100%

Артикул

Название

Примечание

Количество

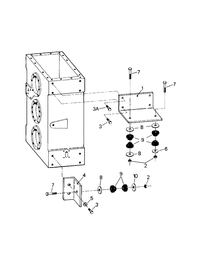
1

1-3350

MOUNTING PARTS

Transfer Case Mount

2шт.

2

19-222

LOCK NUT,5/8" - 11, GB

6шт.

3

19-59

BOLT,Hex, 5/8" - 11 x 1 1/2", Gr 5

Capscrew

8шт.

3a

19-60

BOLT,Hex, 5/8" - 11 x 2", Gr 5

Capscrew (Top LH side)

2шт.

19-59

BOLT,Hex, 5/8" - 11 x 1 1/2", Gr 5

Capscrew (Top RH side)

2шт.

4

901870T1

Transfer Case Mount

2шт.

5

19-711

WASHER,5/8", SAE

4шт.

6

19-408

WASHER

3шт.

7

19-256

BOLT,Hex, 5/8" - 11 x 4", Gr 5

Capscrew

6шт.

8

51-128

WASHER

8шт.

9

1-3548

ANCHOR

Isolator

12шт.

10

19-408

WASHER

(Right)

1шт.

51-128

WASHER

(Left)

1шт.

Выбрано товаров: 13