Запчасти Case IH PT225 (03-04) - A/C & HEATER MODULE (03) - Climate Control

Схема запчастей Case IH PT225 - (03-04) - A/C & HEATER MODULE (03) - Climate Control
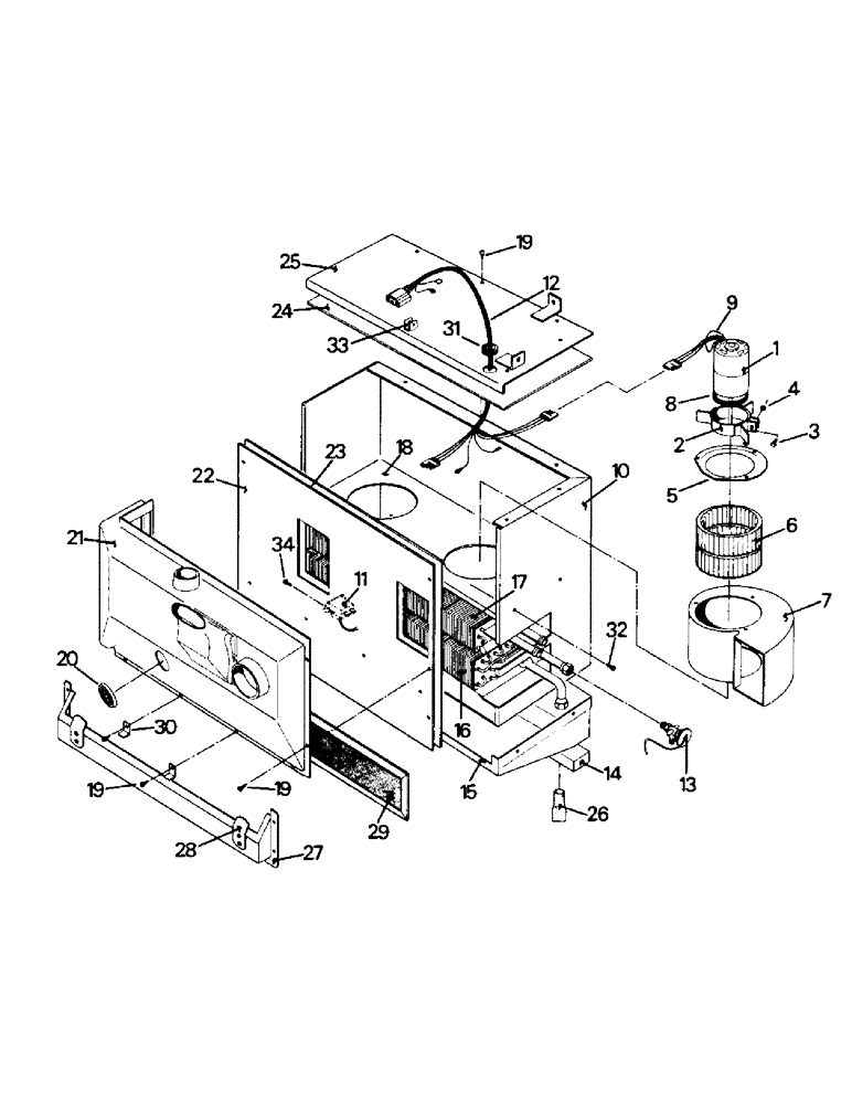
2
24
4
7
22
14
8
26
19
34
9
13
25
11
28
16
32
17
27
23
12
33
1
31
3
21
10
19
29
15
19
6
18
5
30
20
FIT
1:1
100%

Артикул

Название

Примечание

Количество

1-7779

CONTROL

MODULE ASSEMBLY, consists of 1-34

1шт.

2-3719T91

CONTROL

MODULE ASSEMBLY

1шт.

MOTOR ASSEMBLY (02-1373), consists of 1-9

2шт.

1

1-4005T1

MOTOR

2шт.

Ref. 1: 1-4005t1 is no longer available from supplier. only option is to order kit 35-1614T91

1шт.

2

25-1049

BRACKET

2шт.

3

19-159

SCREW,Sl Rnd Hd, #10 - 24 x 3/4", Gr 2

MACHINE SCREW, #10 x 3/4 UNC

2шт.

4

19-1038

NUT

KEP NUT, #10 UNC

4шт.

5

25-1047

OIL SEAL

RING, blower inlet

2шт.

6

25-1046

BLOWER

WHEEL, blower

2шт.

7

25-1045

HOUSING

blower

2шт.

8

25-1050

GASKET

2шт.

9

25-1048

ELECTRICAL WIRE

GROUND WIRE

2шт.

10

1-8083

CURTAIN

WRAPPER ASSEMBLY

1шт.

11

25-1039

THERMOSTAT

1шт.

12

1-4006

HARNESS

WIRE HARNESS (early style)

1шт.

20-1242T1

HARNESS

WIRE HARNESS (later style)

1шт.

13

1-7844

VALVE

expansion

1шт.

14

25-1059

PAD

1шт.

15

1-8087

PAN

drip

1шт.

16

1-7842

COIL

evaporator

1шт.

17

1-7843

HEATER ASSY.

CORE, heater

1шт.

18

25-1043

PLATE

blower mounting

1шт.

19

19-1033

SCREW,#8 x 3/8"

tapping, #8 x 3/8 UNC

28шт.

20

25-1071

GUARD

LOUVER ASSEMBLY

1шт.

21

25-1057

TRANSMISSION

TRANSITION ASSEMBLY

1шт.

22

1-8386

PANEL

case front

1шт.

23

25-1054

INSULATOR

INSULATION, front panel

1шт.

24

25-1056

INSULATOR

INSULATION, cover

1шт.

25

25-1055

COVER

INSULATION, cover

1шт.

26

25-1060

DRAIN TUBE (flutter valve) 1" ID, 1.06" OD, 3" Length

2шт.

27

1-2066

TRANSMISSION

TRANSITION ASSEMBLY, filter

1шт.

28

1-2068

CLAMP

2шт.

29

1-2065

FILTER

(with foam seal)

1шт.

30

1-2067

CLIP

2шт.

31

31-1008

GROMMET

1шт.

32

9418047

SCREW,#12 - 12 x 1/2", Gr 2

tapping, #10 x 1/2 UNC

4шт.

33

2-1374

CLIP

cable

1шт.

34

19-1027

SELF-TAP SCREW,Cross Truss Hd, #8 x 1/2"

SCREW, tapping, #8 x 1/2 UNC

2шт.

1-1701

CLOTHES

FILTER COATING (can not shown)

1шт.

Выбрано товаров: 40