Качественные детали и логистика
Оригинальные и аналоговые запчасти с доставкой по России, Казахстану и Беларуси
©2022 PartSell ООО "Система" ИНН 2463123282 ОГРН 1212400004838
Центральный офис: г. Красноярск, Академика Киренского, д.87, пом.4
Телефон: 8 (800) 777-65-74 Email: zakaz@partsell.ru
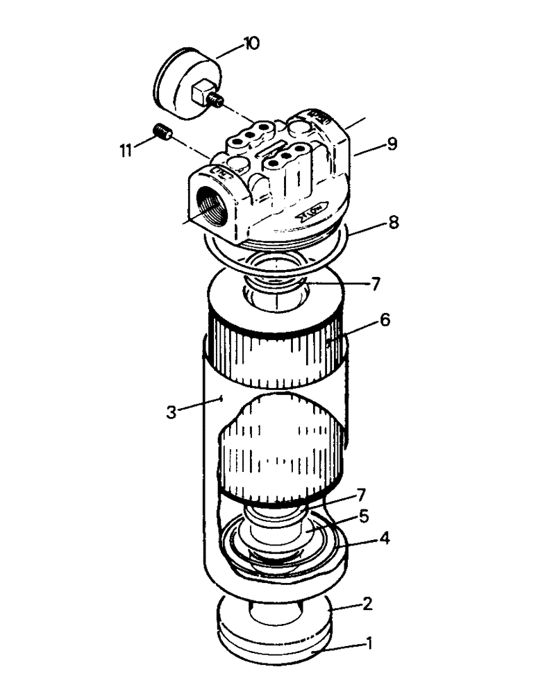
(10-10) - HYDRAULIC OIL FILTER
№
Артикул
Название
Примечание
Количество
1-4168
OIL FILTER ASSEMBLY, consists of ref. nos. 1-11
1шт.
1
1-6200
POST
CENTER POST
2
18-96
GASKET
CENTER POST GASKET
3
18-95
HOUSING
FILTER HOUSING
4
18-94
SPRING
CONICAL SPRING
5
18-93
WASHER
BACK-UP WASHER
6
1-4988
ELEMENT
FILTER ELEMENT
7
18-92
SEAL
FILTER ELEMENT SEAL
2шт.
8
18-91
O-RING
HOUSING SEAL
9
1-6199
HEAD, filter
10
1-6201
GAUGE
VACUUM GAUGE
11
31-357
PLUG
PIPE PLUG
Выбрано товаров: 0