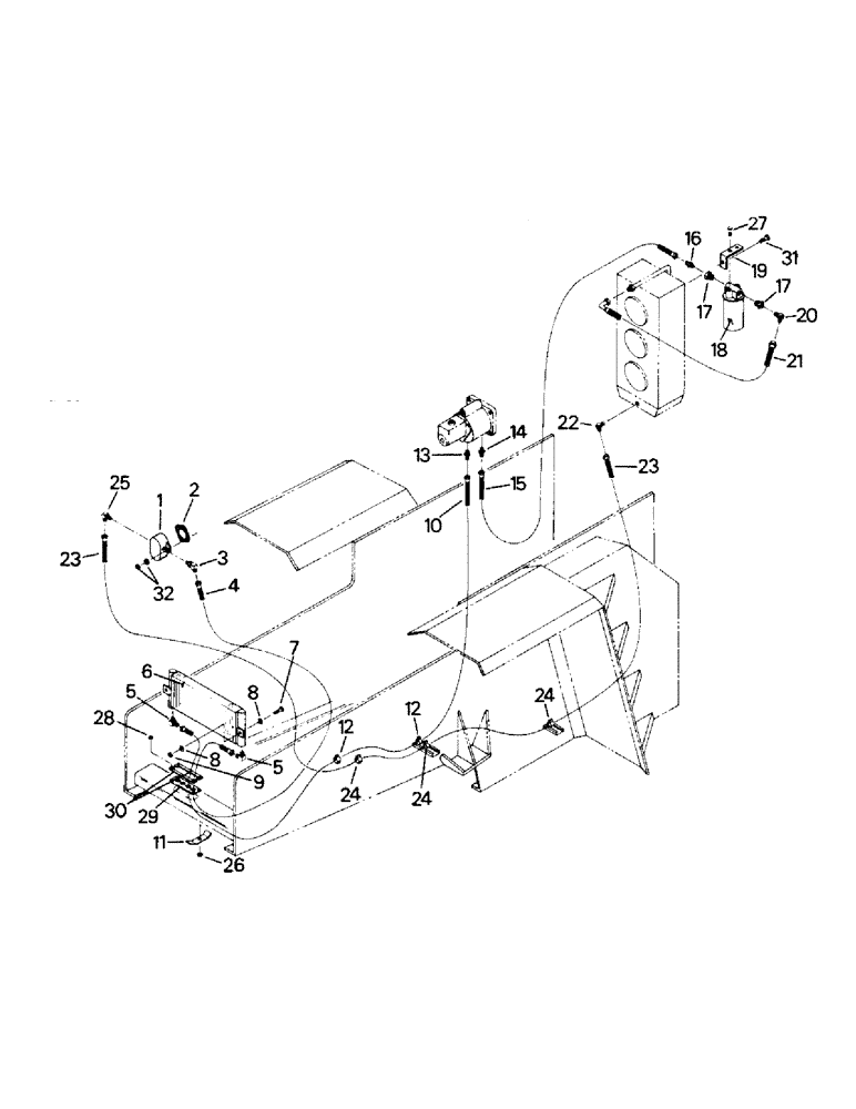
Запчасти Case IH PT225 (04-73) - TRANSFER CASE COOLING SYSTEM, PTA 325 & 280, CAT (04) - Drive Train

Схема запчастей Case IH PT225 - (04-73) - TRANSFER CASE COOLING SYSTEM, PTA 325 & 280, CAT (04) - Drive Train
14
17
28
22
10
1
9
27
12
7
5
26
21
15
16
24
32
30
17
19
2
23
13
25
12
20
8
29
24
3
31
23
18
8
5
6
4
24
11
FIT
1:1
100%

Артикул

Название

Примечание

Количество

1

PUMP, lube (see page 4-79)

1шт.

2

18-1175

GASKET

1шт.

3

31-1410

ELBOW

(10)

1шт.

4

31-1522

HOSE

ASSY

1шт.

5

31-321

ELBOW,90 Degree, 3/4"-16, 37 Degree x 1/2"-14, NPTF

2шт.

6

10-39

COOLER

OIL COOLER

1шт.

7

19-18

BOLT,Hex, 3/8" - 16 x 1 1/4", Gr 5

CAPSCREW

2шт.

8

19-107

WASHER

4шт.

9

19-341

LOCK NUT,3/8" - 16, GB

2шт.

10

31-1521

HOSE

ASSY

1шт.

On tractors w/caliper style brakes (after Feb 82) ref 10, 13-15 are replaced by a single hose, p/n 31-2011, which goes directly from the cooler to the filter. See figure 1-C for serial number breaks for caliper style brakes. PTA transmission cooling is shown on figures 4-59 to 4-61.

1шт.

11

51-243

HOLDER

CLAMP, hose

1шт.

12

31-1212

CLAMP

ASSY

2шт.

13

31-330

HYD CONNECTOR,3/4"-16, 37 Degree x 7/8"-14, O-Ring

FITTING (10)

1шт.

On tractors w/caliper style brakes (after Feb 82) ref 10, 13-15 are replaced by a single hose, p/n 31-2011, which goes directly from the cooler to the filter. See figure 1-C for serial number breaks for caliper style brakes. PTA transmission cooling is shown on figures 4-59 to 4-61.

1шт.

14

18-570

HYD CONNECTOR,7/8"-14, 37 Degree x 7/8"-14, O-Ring

FITTING (10)

1шт.

On tractors w/caliper style brakes (after Feb 82) ref 10, 13-15 are replaced by a single hose, p/n 31-2011, which goes directly from the cooler to the filter. See figure 1-C for serial number breaks for caliper style brakes. PTA transmission cooling is shown on figures 4-59 to 4-61.

1шт.

15

31-1523

HOSE ASSY

1шт.

On tractors w/caliper style brakes (after Feb 82) ref 10, 13-15 are replaced by a single hose, p/n 31-2011, which goes directly from the cooler to the filter. See figure 1-C for serial number breaks for caliper style brakes. PTA transmission cooling is shown on figures 4-59 to 4-61.

1шт.

16

31-411

HYD CONNECTOR,7/8"-14, 37 Degree x 3/4"-14, NPTF

FITTING (except below)

1шт.

31-404

ROD, CONNECTING,3/4"-16, 37 Degree x 3/4"-14, NPTF

FITTING (after Feb 82 on tractors w/caliper brake)

1шт.

17

31-12

REDUCER

2шт.

18

18-501

FILTER

ASSY

1шт.

18-502

FILTER CARTRIDGE

ELEMENT

1шт.

19

1-5009

BRACKET, filter

1шт.

20

31-425

ELBOW,45 Degree, 3/4-14" NPTF x 3/4"-14, 37 Degree

1шт.

21

31-1533

HOSE

ASSY

1шт.

22

31-410

ELBOW,45 Degree, 1 5/16"-12, 37 Degree x 1"-11 1/2, NPTF

1шт.

23

31-1524

HOSE

ASSY

1шт.

24

31-1150

CLAMP

ASSY

3шт.

25

31-368

ELBOW,90 Degree, 1 5/16"-12, 37 Degree x 1 1/16"-12, O-Ring

(12)

1шт.

26

231-1445

NUT,5/16"-18, GB

NUT, LOCK, 5/16"-18, GB

1шт.

27

19-1

BOLT,Hex, 1/4" - 20 x 3/4", Gr 5

CAPSCREW

2шт.

28

19-76

NUT,1/4"-20, G5

4шт.

29

1-4627

CAP

DUST CAP

1шт.

30

1-4628

COVER

2шт.

31

19-44

BOLT,Hex, 1/2" - 13 x 1 1/4", Gr 5

CAPSCREW

1шт.

32

NSS

NOT SOLD SEPARAT

NUT & WASHER (included with engine)

1шт.

Выбрано товаров: 0