Запчасти Case IH PT270 (11-52) - HYDRAULIC MOTOR KITS, WITHEARLY STYLE SOLENOID VALVE, BEFORE SEPT 83 Options & Miscellaneous

Схема запчастей Case IH PT270 - (11-52) - HYDRAULIC MOTOR KITS, WITHEARLY STYLE SOLENOID VALVE, BEFORE SEPT 83 Options & Miscellaneous
4
20
21
26
6
6
32
6
37
21
28
39
16
17
10
39
15
12
8
40
7
37
38
23
8
16
40
23
17
17
3
32
42
22
41
30
37
33
7
27
31
20
37
25
17
21
41
23
14
10
5
2
5
33
35
31
21
39
28
37
6
34
19
11
2
37
38
25
42
13
13
21
14
36
6
26
36
3
24
9
21
10
21
9
4
29
11
21
23
22
34
24
12
10
33
29
1
15
19
1
22
27
35
39
33
22
30
6
FIT
1:1
100%

Артикул

Название

Примечание

Количество

35-1295T94

KIT

HYDRAULIC MOTOR KIT, PT models with PTO option and without hydraulic cooling system

1шт.

Used if hydraulic cooler was on tractor prior to motor kit.

1шт.

35-1296T94

MOTOR

HYDRAULIC MOTOR KIT (PT models w/o PTO option & w/o Hydraulic Cooling System)

1шт.

Used if hydraulic cooler was on tractor prior to motor kit.

1шт.

35-1358T93

MOTOR

HYDRAULIC MOTOR KIT (PT models w/hydraulic cooling system)

1шт.

Used if hydraulic cooler was on tractor prior to motor kit.

1шт.

35-1355T93

MOTOR

HYDRAULIC MOTOR KIT (PTA models only)

1шт.

Used if hydraulic cooler was on tractor prior to motor kit.

1шт.

1

1-7135

COUPLING

HYDRAULIC COUPLER

1шт.

2

19-269

BOLT,Hex, 1/2" - 13 x 1 3/4", Gr 5

CAPSCREW

1шт.

3

19-82

LOCK NUT

LOCK NUT

1шт.

4

18-570

HYD CONNECTOR,7/8"-14, 37 Degree x 7/8"-14, O-Ring

FITTING (10)

2шт.

5

31-1639

HOSE

2шт.

6

31-479

ELBOW,90 Degree, 1 5/16"-12, 37 Degree x 1 5/16"-12, O-Ring

(16)

2шт.

6a

31-479

ELBOW,90 Degree, 1 5/16"-12, 37 Degree x 1 5/16"-12, O-Ring

(16) (use w/50-1190T91)

1шт.

31-368

ELBOW,90 Degree, 1 5/16"-12, 37 Degree x 1 1/16"-12, O-Ring

(12) (use w/50-1839T91)

1шт.

7

31-1641

HOSE

1шт.

8

31-495

TEE,37 Degree, 7/8"-14 x 7/8"-14, Fem Sw Run

1шт.

9

50-1190T91

DIVIDER

FLOW DIVIDER, 1/3 & 2/3 flow, the flow divider is not included in the kits and must be purchased seperately for kit 35-1378T91

1шт.

50-1839T91

DIVIDER

FLOW DIVIDER, 1/2 & 1/2 flow, the flow divider is not included in the kits and must be purchased seperately for kit 35-1377T91

1шт.

10

18-623

HYD CONNECTOR,7/8"-14, 37 Degree x 1 1/16"-12, O-Ring

FITTING (12) (qty 2 after Sept 83)

1шт.

10a

18-623

HYD CONNECTOR,7/8"-14, 37 Degree x 1 1/16"-12, O-Ring

FITTING (12) (before Sept 83)

1шт.

18-783

HYD CONNECTOR,1 1/16"-12, 37 Degree x 1 1/16"-12, O-Ring

FITTING (12) (after Sept 83)

1шт.

11

50-1233T1

PLATE

1шт.

12

19-83

NUT,5/8"-11, G5

4шт.

13

19-7

BOLT,Hex, 5/16" - 18 x 1", Gr 5

CAPSCREW

2шт.

14

31-1642

HOSE

1шт.

15

50-1229T1

TUBE

1шт.

16

19-133

BOLT,Hex, 3/8" - 16 x 4", Gr 5

CAPSCREW

2шт.

17

10-39

COOLER

OIL COOLER

1шт.

18

18-1703

VALVE, PRESSURE RELI

RELIEF VALVE (used on control valve)

1шт.

19

2-1981T1

SPACER

2шт.

20

20-1262T1

ELECTRICAL WIRE

WIRE

1шт.

21

31-340

ELBOW,90 Degree, 7/8"-14, 37 Degree x 1/2"-14, NPTF

2шт.

22

31-1638

HOSE (PT models w/o PTO option)

1шт.

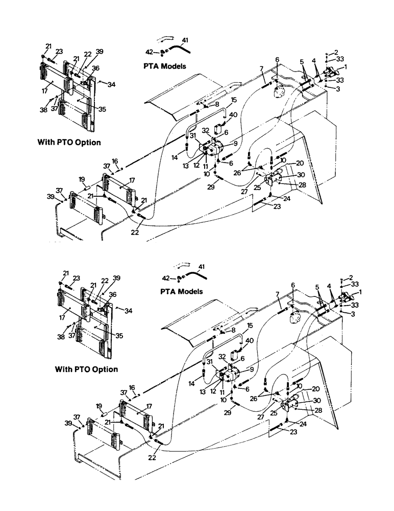
These hoses, ref. 22 and 23, are only used on PT models not equipped with a hydraulic oil cooling system. The illustration shows the arrangement for PT models not equipped witha hydraulic oik cooling system. most of the parts are the same on all models, however, the illustration may be different in certain ares.

1шт.

31-1643

HOSE (PT models w/PTO option)

1шт.

These hoses, ref. 22 and 23, are only used on PT models not equipped with a hydraulic oil cooling system. The illustration shows the arrangement for PT models not equipped witha hydraulic oik cooling system. most of the parts are the same on all models, however, the illustration may be different in certain ares.

1шт.

23

31-1640

HOSE (PT models w/o PTO option)

1шт.

These hoses, ref. 22 and 23, are only used on PT models not equipped with a hydraulic oil cooling system. The illustration shows the arrangement for PT models not equipped witha hydraulic oik cooling system. most of the parts are the same on all models, however, the illustration may be different in certain ares.

1шт.

31-1638

HOSE (PT models w/PTO option)

1шт.

These hoses, ref. 22 and 23, are only used on PT models not equipped with a hydraulic oil cooling system. The illustration shows the arrangement for PT models not equipped witha hydraulic oik cooling system. most of the parts are the same on all models, however, the illustration may be different in certain ares.

1шт.

24

31-454

ELBOW,90 Degree, 7/8"-14, 37 Degree x 1 1/16"-12, O-Ring

(12) (PT models w/o hydraulic cooling system)

1шт.

31-326

ELBOW,90 Degree, 1 1/16"-12, 37 Degree x 1 1/16"-12, O-Ring

(12) (PT models w/hydraulic cooling system)

1шт.

18-873

VALVE

FITTING (12) (PTA models only)

1шт.

25

50-1189T91

SOLENOID

VALVE

1шт.

The earlier 50-1189T91 solenoid valve has 2-1/2" between the mount holes and uses the 50-1236T1 bracket while the later50-1189T2 has 3-5/8 between mount holes.If replacement is needed for 50-1189T1. order 1189T2 plus the later style 50-1511 mount bracket.

1шт.

50-1189T92

SOLENOID

VALVE

1шт.

The earlier 50-1189T91 solenoid valve has 2-1/2" between the mount holes and uses the 50-1236T1 bracket while the later50-1189T2 has 3-5/8 between mount holes.If replacement is needed for 50-1189T1. order 1189T2 plus the later style 50-1511 mount bracket.

1шт.

50-2154T91

SOLENOID

VALVE (see fig. 11-52A)

1шт.

26

18-569

ELBOW,90 Degree, 7/8"-14, 37 Degree x 7/8"-14, O-Ring

(10)

2шт.

27

19-22

BOLT,Hex, 3/8" - 16 x 2 1/2", Gr 5

CAPSCREW

3шт.

Check the relief cartridge setting, located on the end cover, in the control valve, if the relief setting is 3000PSI it must be replaced with a 2250 PSI relief valve cartridge, ref 27

1шт.

19-25

BOLT,3/8" - 16 x 3 1/2", Gr 5

CAPSCREW (used w/50-2154T91)

2шт.

28

19-78

SPECIAL NUT,3/8"-16, G5

(qty 5 w/PTO option)

3шт.

29

31-1645

HOSE

1шт.

31-2319

HOSE ASSY.

HOSE (used w/50-2154T91 only)

1шт.

30

50-1511T2

BRACKET

1шт.

The earlier 50-1189T91 solenoid valve has 2-1/2" between the mount holes and uses the 50-1236T1 bracket while the later50-1189T2 has 3-5/8 between mount holes.If replacement is needed for 50-1189T1. order 1189T2 plus the later style 50-1511 mount bracket.

1шт.

50-1236T1

BRACKET

1шт.

The earlier 50-1189T91 solenoid valve has 2-1/2" between the mount holes and uses the 50-1236T1 bracket while the later50-1189T2 has 3-5/8 between mount holes.If replacement is needed for 50-1189T1. order 1189T2 plus the later style 50-1511 mount bracket.

1шт.

31

50-1234T1

PLATE

1шт.

32

50-1235T1

PLATE

1шт.

33

19-961

WASHER,17/32" x 1 1/2" x 1/8"

2шт.

34

19-567

NUT,#10-24

4шт.

35

463-41012

SCREW,Slot Hex Wash Hd, #10-24 x 3/4"

MACHINE SCREW

4шт.

36

50-1232T1

BRACKET

2шт.

37

19-107

WASHER

3/8 (3 w/PTO option)

5шт.

38

19-17

BOLT,Hex, 3/8" - 16 x 1", Gr 5, Full Thd

CAPSCREW

2шт.

39

19-341

LOCK NUT,3/8" - 16, GB

2шт.

40

31-368

ELBOW,90 Degree, 1 5/16"-12, 37 Degree x 1 1/16"-12, O-Ring

(12)

1шт.

41

31-1696

HOSE

(PTA models only)

1шт.

42

31-1301

TEE,37 Degree, 1 1/16"-12 x 1 1/16"-12, Fem Sw Run

(PTA models only)

1шт.

43

31-418

ELBOW,45 Degree, 1 5/16"-12 x 1 5/16"-12, O-Ring

ADAPTER

1шт.

44

18-783

HYD CONNECTOR,1 1/16"-12, 37 Degree x 1 1/16"-12, O-Ring

ADAPTER

1шт.

45

22-484

TERMINAL CONNECTOR

TERMINAL

1шт.

46

22-784

TERMINAL CONNECTOR,Female

TERMINAL

1шт.

47

2984528

BODY

CONNECTOR BODY

1шт.

48

2965429

TERMINAL CONNECTOR,Male

TERMINAL

1шт.

49

22-785

ROD, CONNECTING

CONNECTOR BODY

1шт.

50

31-1077

HOSE

(PTA models only)

1шт.

Выбрано товаров: 81