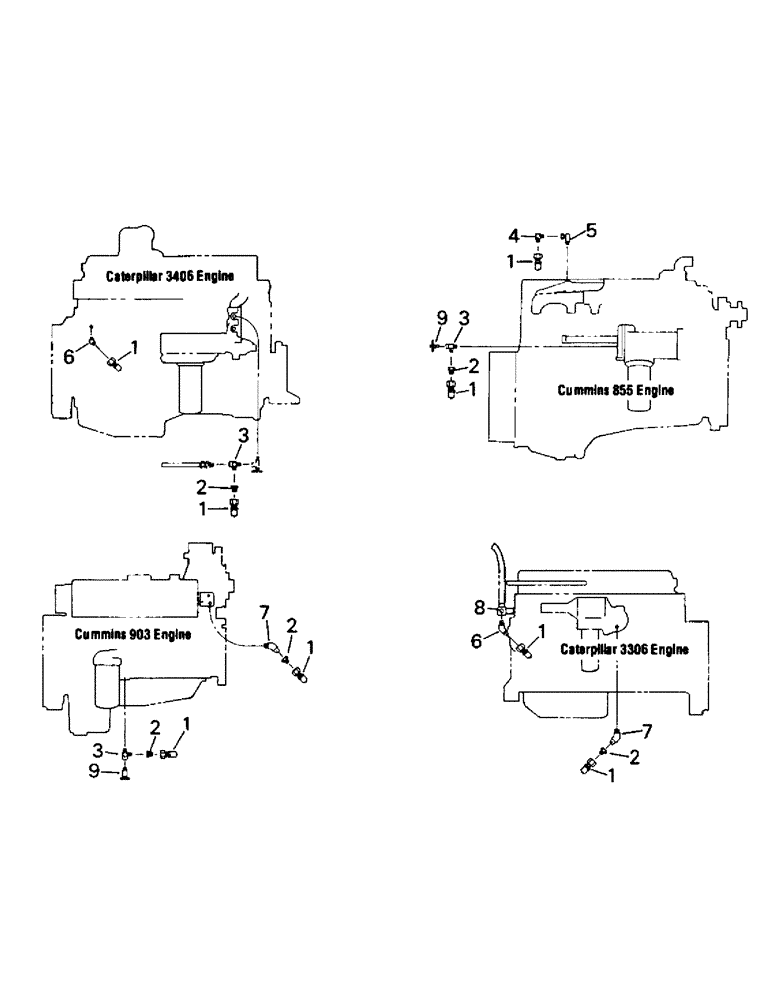
Запчасти Case IH PTA280 (04-39) - ENGINE COOLANT COUPLER SYSTEM (04) - Drive Train

Схема запчастей Case IH PTA280 - (04-39) - ENGINE COOLANT COUPLER SYSTEM (04) - Drive Train
1
2
6
2
1
2
2
1
9
1
5
1
6
7
8
2
3
3
1
1
9
4
3
7
1
FIT
1:1
100%

Артикул

Название

Примечание

Количество

1

50-1172T1

NIPPLE, LUBE

NIPPLE

2шт.

2

31-178

BUSHING

REDUCER

2шт.

3

31-1586

ADAPTER 3/8"-18 Male x 3/8"-18 Female Run

1шт.

4

31-1585

FITTING

ELBOW

1шт.

5

31-381

ADAPTER

1шт.

6

31-1573

ELBOW 45º, 1/2"-14 Male

1шт.

7

31-1574

ELBOW 45º, 3/8"-18 Male

1шт.

8

31-1575

ADAPTER

ELBOW

1шт.

9

NSS

NOT SOLD SEPARAT

DRAIN COCK (supplied with engine)

1шт.

Выбрано товаров: 9