Запчасти Case IH SM-325 (04-26) - RADIATOR ASSEMBLY, BOLTED TANKS (04) - Drive Train

Схема запчастей Case IH SM-325 - (04-26) - RADIATOR ASSEMBLY, BOLTED TANKS (04) - Drive Train
11
9
1
8
10
2
8
18
14
16
19
4
9
13
6
17
8
7
15
4
5
7
9
12
3
13
FIT
1:1
100%

Артикул

Название

Примечание

Количество

90-4292T91

RADIATOR

Assy. for Cat 3306

1шт.

1-7036T91

RADIATOR

Assy., for Cummins 855

1шт.

1-7038T91

RADIATOR

Assy., for Cat 3406

1шт.

90-3590T91

Radiator Assy., for Cummins L10

1шт.

90-4615T91

RADIATOR

Assy., for Komatsu

1шт.

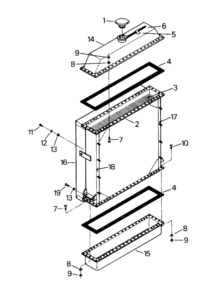
1

10-21

CAP

1шт.

2

90-1530T1

BAR

Header Bar

4шт.

3

1-2589

RADIATOR

Core

1шт.

4

1-2599

GASKET

2шт.

5

31-2173

CLIP

3шт.

6

31-1260

HOSE,0.25" ID x 57.00"

Overflow 0.25" ID x 57.00"

1шт.

7

19-7

BOLT,Hex, 5/16" - 18 x 1", Gr 5

Capscrew

80шт.

8

19-116

LOCK WASHER,5/16"

5/16"

100шт.

9

19-77

NUT,5/16"-18, G5

100шт.

10

19-234

BOLT,Hex, 5/16" - 18 x 1 1/4", Gr 5

Capscrew

20шт.

11

281-13712

SELF-TAP SCREW,Hex Wash Hd, 1/4" x 3/4"

Tapping Screw

10шт.

12

19-115

LOCK WASHER,1/4"

1/4"

10шт.

13

19-223

WASHER,1/4"

12шт.

14

90-2342T1

Top Tank, with RH shunt hose, for Cat 3306

1шт.

Top tank on tractors with Cat 3306 engine, has the shunt hose moved to the left side. For service, order the 90-2342T2 plus the correct hose and adapters, Refs. 11-13 as shown on Figure 04-22

1шт.

90-2342T2

TANK

Top Tank, with LH shunt hose, for Cat 3306

1шт.

Top tank on tractors with Cat 3306 engine, has the shunt hose moved to the left side. For service, order the 90-2342T2 plus the correct hose and adapters, Refs. 11-13 as shown on Figure 04-22

1шт.

1-2586T1

TANK

Top Tank, for Cummins 855, Cummins L10 and Komatsu

1шт.

1-2588

TANK

Top Tank, for Cat 3406

1шт.

15

1-6973

TANK

Bottom Tank, for Cat 3306

1шт.

1-2590

Bottom Tank, for Cummins L10 and Cummins 855

1шт.

1-2592

TANK

Bottom Tank, For Cat 3406 and Komatsu

1шт.

16

90-4148T1

SHROUD

for Cat 3306 and Cummins L10

1шт.

1-2597

Shroud, for Cummins 855

1шт.

1-2598

Shroud, for Cat 3406 and Komatsu

1шт.

17

1-2595T1

FUNNEL

Side Member, left, for Cat 3306 and Cummins L10

1шт.

1-2596T1

FUNNEL

Side Member, left, for Cat 3406, Cummins 855 and Komatsu

1шт.

18

1-2593T1

FUNNEL

Side Member, right, for Cat 3306 and Cummins L10

1шт.

1-2594T1

FUNNEL

Side Member (Right, for Cat 3406, Cummins 855 and Komatsu

1шт.

19

19-717

BOLT,Hex, 1/4" - 20 x 5/8", Gr 5, Full Thd

Capscrew

2шт.

Выбрано товаров: 35