Запчасти Case IH ST210 (03-01) - HEATER GROUP (03) - Climate Control

Схема запчастей Case IH ST210 - (03-01) - HEATER GROUP (03) - Climate Control
15
12
18
5
19
14
3
13
12
6
16
2
17
3
23
10
12
22
9
21
11
12
8
24
12
4
12
7
20
FIT
1:1
100%

Артикул

Название

Примечание

Количество

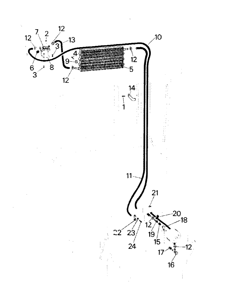
1

19-267

SELF-TAP SCREW,Hex Wshr Hd, 1/4" - 20 x 1"

SCREW, 1/4 x 1 UNC

2шт.

2

19-481

SERRATED NUT

#10 UNF

4шт.

3

19-572

SCREW,Sl Pan Hd, #10 - 32 x 1/2", Gr 5

#10 x 1/2 UNF

4шт.

4

19-574

SCREW,Sl Pan Hd, #8 - 32 x 1 1/4"

#8 x 1-1/2 UNC

4шт.

5

25-199

COIL ASSEMBLY

1шт.

6

25-206

KNOB

1шт.

7

25-278T1

VALVE

1шт.

8

25-279

BRACKET

1шт.

9

25-280

WASHER

4шт.

10

25-282

HOSE

1шт.

11

25-281

HOSE

1шт.

12

25-285

SQUARE NUT,Sq, 5/16"-18

CLAMP

6шт.

13

64-82

HOSE

1шт.

14

64-85

CLIP

2шт.

15

31-178

BUSHING

FITTING, reducer

1шт.

16

64-150

VALVE

1шт.

Old part number can be used for all models, but order new part number when stock is depleted.

1шт.

64-291

VALVE

(replaces 64-150)

1шт.

Old part number can be used for all models, but order new part number when stock is depleted.

1шт.

17

31-13

BUSHING

FITTING, reducer

1шт.

18

31-20

FITTING, elbow

1шт.

19

31-522

ROD, CONNECTING

FITTING, adapter

1шт.

20

32-161

COLLAR CLAMP

CLAMP

2шт.

21

19-17

BOLT,Hex, 3/8" - 16 x 1", Gr 5, Full Thd

CAPSCREW, 3/8 x 1 UNC

2шт.

22

22-637

CLAMP

2шт.

23

19-223

WASHER,1/4"

1/4

2шт.

24

19-388

SELF-TAP SCREW,Hex Wshr Hd, 1/4" x 1 1/4"

TAPPING SCREW, 1/4 x 1-1/4 UNC

2шт.

Выбрано товаров: 27