Запчасти Case IH ST210 (04-10) - TWO SPEED LINKAGE (04) - Drive Train

Схема запчастей Case IH ST210 - (04-10) - TWO SPEED LINKAGE (04) - Drive Train
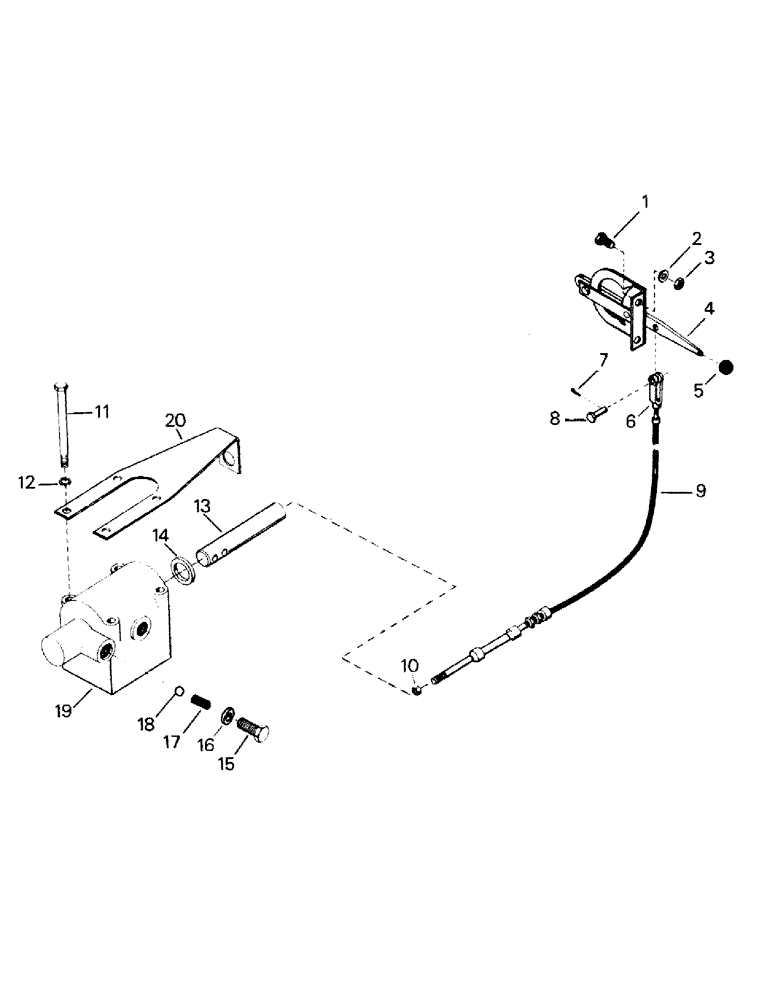
12
4
13
8
18
2
20
5
3
6
10
19
11
1
17
7
16
14
15
9
FIT
1:1
100%

Артикул

Название

Примечание

Количество

1

19-2

BOLT,Hex, 1/4" - 20 x 1", Gr 5

CAPSCREW, 1/4 x 1 UNC

2шт.

2

19-115

LOCK WASHER,1/4"

1/4"

2шт.

3

19-76

NUT,1/4"-20, G5

1/4 UNC

2шт.

4

30-20

LEVER

ASSEMBLY

1шт.

5

12-1706

KNOB

BALL, shift

1шт.

6

19-141

CLEVIS

YOKE

1шт.

7

19-170

COTTER PIN,1/16" x 3/4"

Pin, Split (Cotter), 1/16" x 3/4"

1шт.

8

19-144

CLEVIS PIN,1/4" x 0.77"

PIN, clevis

1шт.

9

60-288

CABLE ASSY.

CABLE

1шт.

Old part number is not used any longer; the new part number is to be used in all cases.

1шт.

10

19-89

NUT,1/4"-28, G5

1/4 UNF

1шт.

11

12-1720

BOLT

CAPSCREW, splitter housing

4шт.

12

12-1544

LOCK WASHER

WASHER

4шт.

13

12-1723

SHAFT

ROD, splitter control

1шт.

14

12-1723

SHAFT

SEAL, splitter control rod

1шт.

15

12-1728

CAPSCREW

RETAINER, control rod poppet ball

1шт.

16

12-1616

LOCK WASHER

WASHER

1шт.

17

12-1727

SPRING

control rod poppet

1шт.

18

12-1726

BALL

poppet splitter control rod

1шт.

19

12-1725

HOUSING

splitter

1шт.

20

55-181

BRACKET, cable

1шт.

Выбрано товаров: 0