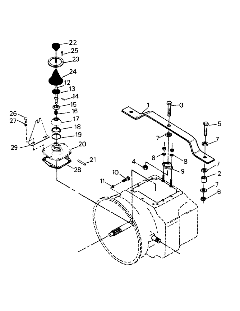
Запчасти Case IH ST210 (04-11) - TRANSMISSION MOUNTING & SHIFT TOWER (04) - Drive Train

Схема запчастей Case IH ST210 - (04-11) - TRANSMISSION MOUNTING & SHIFT TOWER (04) - Drive Train
28
15
29
7
4
22
2
8
7
21
17
14
27
1
10
9
8
16
5
13
12
23
7
25
3
24
18
20
11
7
6
19
26
FIT
1:1
100%

Артикул

Название

Примечание

Количество

1

5-313

HANGER

PLATE, trans. hanger

1шт.

2

5-410

SPACER

2шт.

3

19-614

BOLT,3/4" - 10 x 4 1/2", Gr 5

CAPSCREW, 3/4 x 4-1/2 UNC

1шт.

4

19-85

LOCK NUT

LOCK NUT, 3/4 UNC

1шт.

5

19-402

BOLT,3/4" - 10 x 4 1/2", Gr 5

CAPSCREW, 3/4 x 4-1/2 UNC

2шт.

6

19-84

NUT,3/4"-10, G5

3/4 UNC

2шт.

7

19-112

WASHER,3/4"

3/4

7шт.

8

19-120

LOCK WASHER,5/8"

5/8"

2шт.

9

24-230

INSULATOR

ISOLATOR, rubber

1шт.

10

19-19

BOLT,Hex, 3/8" - 16 x 1 1/2", Gr 5

CAPSCREW, 3/8 x 1-1/2 UNC

12шт.

11

19-224

WASHER,3/8", SAE

3/8

1шт.

60-202

LEVER

TOWER ASSEMBLY, Includes: Ref. 12 - 21

1шт.

12

12-1993

LEVER

shift

1шт.

13

12-1565

BOOT

GROMMET, shift lever

1шт.

14

12-1566

PIN,5/16" x 1"

shift lever collar

1шт.

15

12-1567

COLLAR

shift lever

1шт.

16

12-1568

SPRING

shift lever

1шт.

17

12-1569

CUP

shift lever

1шт.

18

12-1570

WASHER

shift lever

1шт.

19

12-1573

OIL SEAL

RING, snap

1шт.

20

12-422

LEVER

COVER, shifter housing

1шт.

21

12-1572

SHAFT

shift lever rod

1шт.

22

12-8

KNOB

BALL, shifter

1шт.

23

54-71

LARGE PLATE

RING, shifter

1шт.

24

24-218

BOOT

shift lever

1шт.

25

19-386

SELF-TAP SCREW,Hex Wshr Hd, 1/4" - 20 x 1 1/4"

SCREW, self-drilling

4шт.

26

12-1575

BOLT

SCREW

6шт.

27

12-1496

LOCK WASHER

WASHER

6шт.

28

12-1571

GASKET

shifter housing

1шт.

29

55-188

SWITCH

BRACKET, neutral start switch

1шт.

This bracket is only used on transmissions with the external type neutral start switch

1шт.

Выбрано товаров: 31