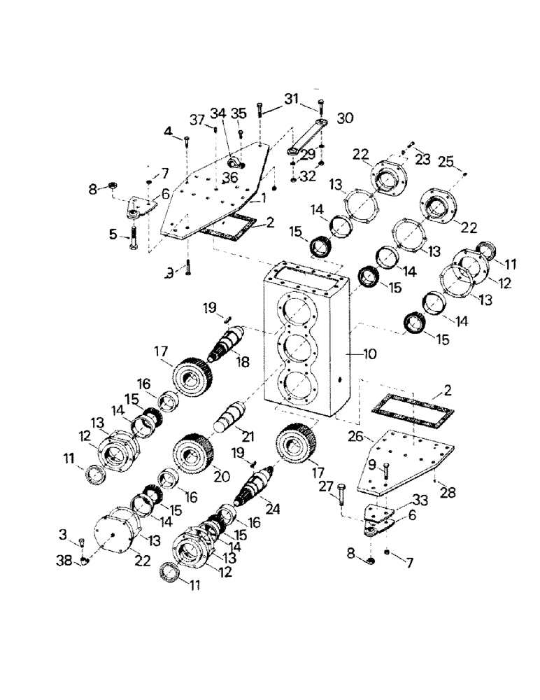
Запчасти Case IH ST210 (04-27) - TRANSFER CASE (04) - Drive Train

Схема запчастей Case IH ST210 - (04-27) - TRANSFER CASE (04) - Drive Train
8
14
9
38
14
4
5
26
18
3
20
12
17
13
11
19
13
16
14
22
37
15
24
11
6
10
35
15
32
19
7
30
25
2
16
27
36
12
16
21
13
33
13
22
15
15
6
31
8
34
12
3
1
23
15
2
29
13
14
11
7
14
17
13
15
28
22
14
FIT
1:1
100%

Артикул

Название

Примечание

Количество

1

65-35

LINK

top

1шт.

2

60-186

GASKET

LINK

2шт.

3

31-303

BREATHER

1шт.

4

19-221

BOLT,Hex, 1/2" - 13 x 1 1/2", Gr 5

CAPSCREW, 1/2 x 1-1/2 UNC

24шт.

5

19-813

BOLT,Hex, 1" - 8 x 6", Gr 5

CAPSCREW, 1 x 6 UNC

1шт.

6

63-56

PLATE

BEARING PLATE

2шт.

7

19-85

LOCK NUT

LOCK NUT, 3/4

6шт.

8

19-859

LOCK NUT

1 UNC

2шт.

9

19-63

BOLT,Hex, 3/4" - 10 x 2 1/2", Gr 5

CAPSCREW, 3/4 x 2-1/2 UNC

6шт.

10

2-92

BOX

DROP BOX, MACHINED

1шт.

11

14-68T1

SEAL

SEAL (replaces 14-68)

3шт.

REF #11 SHOULD BE 14-68T1, WHICH SUBS TO 69367C1

1шт.

12

65-21

CAP

bearing

3шт.

13

65-26

SHIM

GASKET, shim .005 (blue)

6шт.

65-33

SHIM

GASKET, shim .0075 (clear)

6шт.

65-34

SHIM

GASKET, shim .020 (yellow)

6шт.

14

65-40

CUP

bearing

6шт.

15

65-29

BEARING

CONE, bearing

6шт.

16

65-25

SPACER

3шт.

17

14-30

GEAR WHEEL

GEAR, top & bottom

2шт.

18

65-22

SHAFT

top

1шт.

19

2-70

KEY

2шт.

20

14-29

GEAR

middle

1шт.

21

65-23

SHAFT

middle

1шт.

22

65-100

CAP

bearing

3шт.

23

19-34

BOLT,Hex, 7/16" - 14 x 1 1/2", Gr 5

CAPSCREW, 7/16 x 1-1/2 UNC

36шт.

24

65-24

SHAFT

bottom

1шт.

25

31-36

PLUG

1шт.

26

65-47

LINK

bottom

1шт.

27

19-858

BOLT,Hex, 1" - 8 x 4", Gr 5

CAPSCREW, 1 x 4 UNC

1шт.

28

31-37

PLUG

1/4 sq. head

1шт.

29

19-112

WASHER,3/4"

3/4

2шт.

30

63-57

SUPPORT ASSY.

BRACKET, rear

1шт.

31

19-216

BOLT,Hex, 3/4" - 10 x 3", Gr 5

CAPSCREW, 3/4 x 3 UNC

2шт.

32

19-857

LOCK NUT,3/4"-10, GB

NUT, 3/4

2шт.

33

2-47

SHIM

1шт.

34

32-10

CLAMP

1шт.

35

19-4

SCREW,Sltd Truss Hd, #10-24 x 1"

#10 x 1 UNC

1шт.

36

19-567

NUT,#10-24

#10 UNC

1шт.

37

31-35

PLUG

1/2 sq. head

1шт.

38

31-219

ELBOW

3/8

1шт.

Выбрано товаров: 41