Запчасти Case IH ST325 (10-52) - DEPTH CONTROL, CAB (18) - MISCELLANEOUS

Схема запчастей Case IH ST325 - (10-52) - DEPTH CONTROL, CAB (18) - MISCELLANEOUS
4
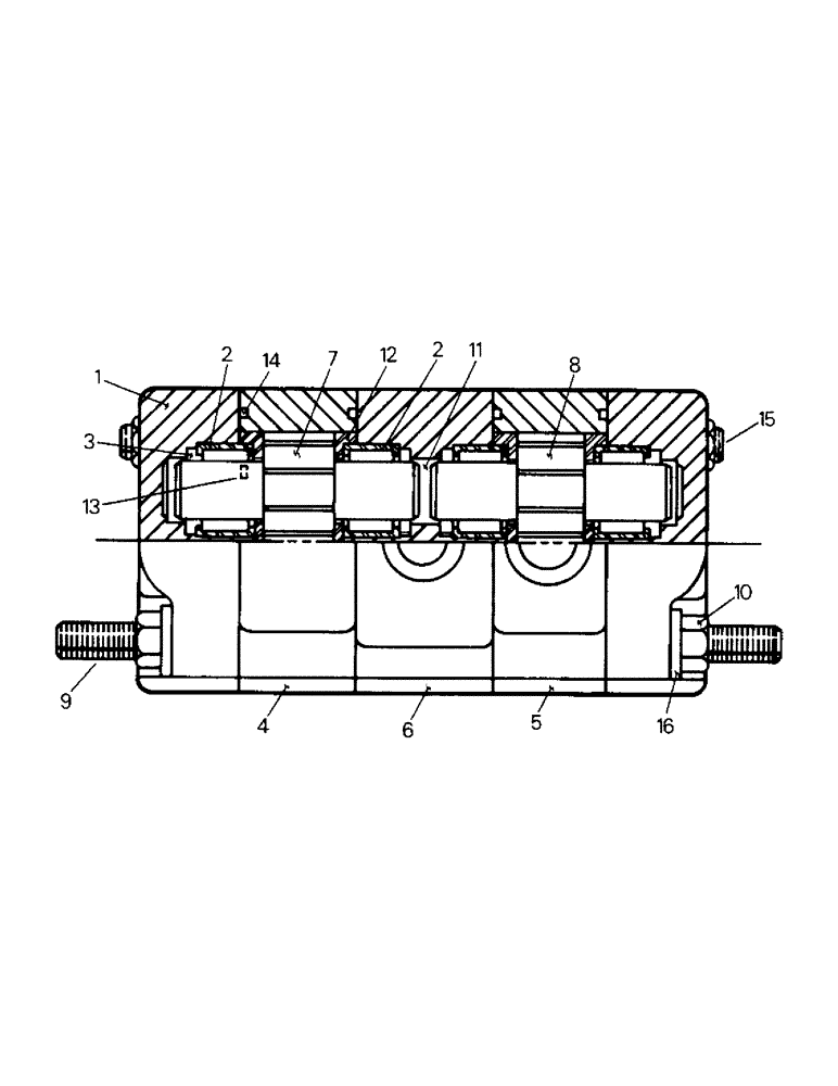
8
11
15
12
14
16
9
7
5
6
2
13
3
2
10
1
FIT
1:1
100%

Артикул

Название

Примечание

Количество

1

1-5440

Stop

1шт.

2

19-151

LOCK PIN,1/4" x 1", Slotted

Pin, 1/4" x 1", Slotted

1шт.

3

1-5448

Block, Adjusting

1шт.

4

19-5361

LOCK PIN,1/8" x 1 1/4", Slotted

Pin, 1/8" x 1 1/4", Slotted

2шт.

5

19-170

COTTER PIN,1/16" x 3/4"

Pin, Split (Cotter), 1/16" x 3/4"

1шт.

6

276-1478

SELF-TAP SCREW,Hex Hd, 1/4" x 1/2"

Screw, Tapping, 1/4 NC x 1/2

4шт.

7

1-1807

RING, SNAP

Snap Ring

2шт.

8

1-5443

Rod, Adjusting

1шт.

9

1-5482

Knob

1шт.

10

2-1571T1

Frame

1шт.

11

19-109

WASHER,1/2"

1/2

2шт.

12

231-1445

NUT,5/16"-18, GB

NUT, LOCK, 5/16"-18, GB

2шт.

13

2-1575

Shaft, Pivot

1шт.

14

54-294

THRUST WASHER

Thrust Washer

3шт.

15

19-94

NUT

Lock Nut, 1/2 NF

1шт.

16

2-2518

Cable

1шт.

17

19-964

BOLT

U-Bolt

1шт.

18

1-3767

SHIM

1шт.

19

19-141

CLEVIS

Yoke

1шт.

20

19-144

CLEVIS PIN,1/4" x 0.77"

1шт.

21

2-1570T1

Lever

1шт.

22

18-646

KNOB

1шт.

23

22-765

GROMMET

1шт.

24

1-1498

BUSHING

1шт.

25

1-6821

Cap

1шт.

26

2-1013

DECAL

Position Control

1шт.

Выбрано товаров: 26