Запчасти Case IH ST325 (04-25) - TRANSMISSION MOUNTING (04) - Drive Train

Схема запчастей Case IH ST325 - (04-25) - TRANSMISSION MOUNTING (04) - Drive Train
7
1
3
9
11
15
4
14
16
13
6
11
8
2
11
5
12
3
17
10
FIT
1:1
100%

Артикул

Название

Примечание

Количество

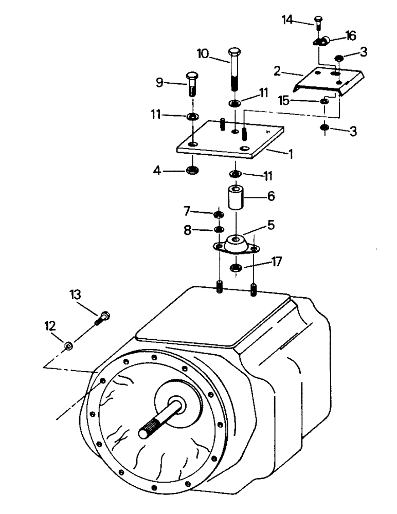
1

1-1631

HANGER

Plate, Trans. Hanger (ST 220, 250, 251, 270, 310 & 320)

1шт.

Superseded, Old P/N MUST be used on models prior to S/N break. New P/N will fit models after the S/N break only.

1шт.

1-2170

Plate, Trans. Hanger (Early ST 325)

1шт.

Superseded, Old P/N MUST be used on models prior to S/N break. New P/N will fit models after the S/N break only.

1шт.

1-2173

Plate, Trans. Hanger (all models above ASNB plus all other models)

1шт.

Superseded, Old P/N MUST be used on models prior to S/N break. New P/N will fit models after the S/N break only.

1шт.

2

12-2036

Clamp (all models except ST 325 BSN 853)

1шт.

1-2337

Clamp (ST 325 BSN 853)

1шт.

3

19-78

SPECIAL NUT,3/8"-16, G5

7/8 NC

3шт.

4

19-85

LOCK NUT

3/4 NC

2шт.

5

24-230

INSULATOR

1шт.

6

55-156

SPACER

(single speed transfer case)

1шт.

1-6831

SPACER

(2 speed transfer case)

1шт.

7

408

NUT,5/8" - 18, Gr 5

2шт.

8

12-1516

Washer

2шт.

9

19-394

BOLT,Hex, 3/4" - 10 x 2", Gr 5

Capscrew, 3/4 NC x 2

2шт.

10

19-614

BOLT,3/4" - 10 x 4 1/2", Gr 5

Capscrew, 3/4 NC x 4-1/2

1шт.

11

19-112

WASHER,3/4"

3/4

4шт.

12

19-224

WASHER,3/8", SAE

3/8 (all except w/3406)

12шт.

19-643

WASHER,7/16", SAE

7/16 (w/3406)

12шт.

13

19-19

BOLT,Hex, 3/8" - 16 x 1 1/2", Gr 5

Capscrew, 3/8 NC x 1-1/2 (all except w/3406)

12шт.

19-371

BOLT,Hex, 7/16" - 14 x 1 1/2", Gr 8

Capscrew, 7/16 NC x 1-1/2 (w/3406)

12шт.

14

19-16

BOLT,Hex, 3/8" - 16 x 3/4", Gr 5

Capscrew, 3/8 NC x 3/4 (w/903)

1шт.

15

19-107

WASHER

3/8 (w/903)

1шт.

16

32-343

MOUNTING CLIP

Clamp (w/903)

1шт.

17

19-324

NUT,Hvy, 3/4" - 10, Gr 5

3/4 NC

1шт.

Выбрано товаров: 26