Запчасти Case IH ST325 (04-26) - SHIFT TOWER (04) - Drive Train

Схема запчастей Case IH ST325 - (04-26) - SHIFT TOWER (04) - Drive Train
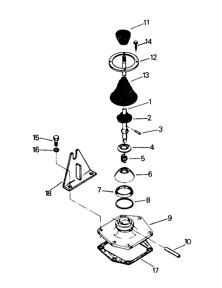
13
11
9
12
5
6
8
3
1
7
16
14
15
17
18
4
10
2
FIT
1:1
100%

Артикул

Название

Примечание

Количество

12-1996T91

LEVER

Tower Assembly (other Models), consists of Ref. 1-10

1шт.

12-2042

Tower Assembly (ST 320 & ST 350 only), consists of Ref. 1-10

1шт.

1

12-1995T1

LEVER

Shift (other Models)

1шт.

12-2039

LEVER

Shift (ST 320 & ST 350 only)

1шт.

2

12-1565

BOOT

Grommet, Shift Lever

1шт.

3

12-1566

PIN,5/16" x 1"

Shift Lever Collar

1шт.

4

12-1567

COLLAR

Compression

1шт.

5

12-1568

SPRING

Compression

1шт.

6

12-1569

CUP

Compression

1шт.

7

12-1570

WASHER

Compression

1шт.

8

12-1573

OIL SEAL

Snap Ring

1шт.

9

12-422

LEVER

Cover

1шт.

10

12-1572

SHAFT

Shift Lever Rod

1шт.

11

12-8

KNOB

Ball, Shifter

1шт.

12

54-71

LARGE PLATE

Ring

1шт.

13

24-218

BOOT

1шт.

14

19-388

SELF-TAP SCREW,Hex Wshr Hd, 1/4" x 1 1/4"

Screw, Tapping, 1/4 x 1-1/4 UNC

4шт.

15

12-1575

BOLT

Capscrew

6шт.

16

12-1496

LOCK WASHER

Washer

6шт.

17

12-1571

GASKET

Shifter Housing

1шт.

18

1-6109

SWITCH

Bracket, Neutral Start

1шт.

This bracket is only used on transmissions with the external type neutral start switch

1шт.

Выбрано товаров: 22