Запчасти Case IH ST325 (04-27) - TRANSMISSION SHIFTER HOUSING (04) - Drive Train

Схема запчастей Case IH ST325 - (04-27) - TRANSMISSION SHIFTER HOUSING (04) - Drive Train
47
27
5
33
12
11
11
25
31
37
46
10
11
31
29
23
4
44
14
11
35
36
13
42
18
20
1
11
38
45
30
41
28
8
32
9
6
30
7
29a
39
21
3
34
43
26
31
32
15
11
30
17
22
24
40
19
16
2
FIT
1:1
100%

Артикул

Название

Примечание

Количество

12-1987

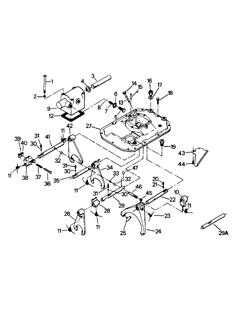
Shifter Housing Sub-Assembly, consists of Refs. 1-42

1шт.

Transmission prior to S/N 2186698. P/N's 12-1989 and 12-1988

1шт.

Shifter Assembly P/N 01-4204 differs from P/N 12-2045 only in that the neutral start parts (Ref. 29 and 45-47) have been added internally. It can be substituted for P/N 12-2045 by either plugging the hole shown in the upper right corner or by ordering new Switch P/N 01-4199 and Gasket P/N 01-4198 which will allow doing away with the external bracket and switch.

1шт.

12-2045

HOUSING

Shifter Housing Sub-Assembly, consists of Refs. 1-44

1шт.

Transmission after S/N 2186698 (in production July '76) Part Nos. 12-2043, 12-2044 & 12-2038.

1шт.

Shifter Assembly P/N 01-4204 differs from P/N 12-2045 only in that the neutral start parts (Ref. 29 and 45-47) have been added internally. It can be substituted for P/N 12-2045 by either plugging the hole shown in the upper right corner or by ordering new Switch P/N 01-4199 and Gasket P/N 01-4198 which will allow doing away with the external bracket and switch.

1шт.

1-4204

HOUSING

Shifter Housing Sub-Assembly, consists of Refs. 1-47

1шт.

Transmission with internal neutral start (in production July '77). P/N's 01-2214, 01-2212, 01-2213, 01-9568, 90-2250T91, 90-2251T91, 90-2248T91, and 90-2249T91.

1шт.

Shifter Assembly P/N 01-4204 differs from P/N 12-2045 only in that the neutral start parts (Ref. 29 and 45-47) have been added internally. It can be substituted for P/N 12-2045 by either plugging the hole shown in the upper right corner or by ordering new Switch P/N 01-4199 and Gasket P/N 01-4198 which will allow doing away with the external bracket and switch.

1шт.

12-1717

DIVIDER

Control Housing Sub-Assembly, consists of Refs. 1-11

1шт.

1

19-922

Capscrew, 5/16 x 5 UNC Hex, 5/16"-18 x 5", G5

4шт.

2

12-1544

LOCK WASHER

4шт.

3

12-1723

SHAFT

Rod, Splitter Control

1шт.

4

12-1724

OIL SEAL

1шт.

5

12-1728

CAPSCREW

Screw, Control Rod Poppet Ball

1шт.

6

12-1616

LOCK WASHER

Washer

1шт.

7

12-1727

SPRING

Control Rod Poppet

1шт.

8

12-1726

BALL

Poppet Splitter Control Rod

1шт.

9

12-1725

HOUSING

Splitter

1шт.

10

12-1721

FINGER

Splitter Shift.

1шт.

11

12-1550

SCREW

Shift Fork & Bracket

6шт.

12

12-1625

GASKET

Splitter Housing

1шт.

13

12-1602

PIN

Back-Up Light

1шт.

14

12-1603

PLUG

Back-Up Light Switch Hole

1шт.

15

12-1601

PIN

Blocker

1шт.

16

408

NUT,5/8" - 18, Gr 5

Mounting stud 5/8"-18, G5

2шт.

17

12-1516

Washer, 5/8

2шт.

18

12-1484

BOLT

Capscrew, Shifter Housing

14шт.

19

12-1719

PLUG

Breather Hole

1шт.

20

12-1582

SPRING

SHift Rod Stop Pin

1шт.

21

12-1583

PIN

Stop

1шт.

22

12-1579

ROD

Shift Splitter

1шт.

23

12-1596

SET SCREW,7/16" - 20 x 13/16"

Shift Splitter Fork

1шт.

24

12-1580

FORK

Shift Splitter

1шт.

25

12-1581

SHOE

Splitter Fork

2шт.

26

12-1587

FORK

Shift (7th, 8th, 9th & 10th)

2шт.

27

12-1577

HOUSING

Shifter (External Neutral Start)

1шт.

Transmission prior to S/N 2186698. P/N's 12-1989 and 12-1988

1шт.

1-4206

HOUSING

Shifter (Internal Neutral Start) (will replace P/N 12-1577 but hole for Neutral Start Switch must be plugged)

1шт.

Transmission after S/N 2186698 (in production July '76) Part Nos. 12-2043, 12-2044 & 12-2038.

1шт.

Transmission with internal neutral start (in production July '77). P/N's 01-2214, 01-2212, 01-2213, 01-9568, 90-2250T91, 90-2251T91, 90-2248T91, and 90-2249T91.

1шт.

28

12-1588

BRACKET

(7th, 8th, 9th & 10th)

1шт.

29

1-4207

ROD

Shift (7th, 8th, 9th & 10th)

1шт.

Transmission with internal neutral start (in production July '77). P/N's 01-2214, 01-2212, 01-2213, 01-9568, 90-2250T91, 90-2251T91, 90-2248T91, and 90-2249T91.

1шт.

29a

12-1586

ROD

Shift (7th, 8th, 9th & 10th)

1шт.

Transmission after S/N 2186698 (in production July '76) Part Nos. 12-2043, 12-2044 & 12-2038.

1шт.

Transmission prior to S/N 2186698. P/N's 12-1989 and 12-1988

1шт.

30

12-1584

BALL

Shift Rod Poppet

3шт.

31

12-1585

SPRING

Shift Rod Poppet Ball

3шт.

32

12-1589

LOCK

2шт.

33

12-1590

PIN

Lock

1шт.

34

12-1592

FORK

Shift (3rd, 4th, 5th & 6th)

1шт.

35

12-1591

ROD

Shift (3rd, 4th, 5th & 6th)

1шт.

36

12-1597

PLUNGER

Pin, Shift Plunger (1st, 2nd & Reverse)

2шт.

37

12-1598

SPRING

Shift Finger Plunger

1шт.

38

12-1594

BRACKET

Shift (1st, 2nd & Reverse)

1шт.

39

12-1600

PIN

Shift Plunger Pin

1шт.

40

12-1599

SPRING

Block, Shift Bracket

1шт.

41

12-1593

ROD

Shift (1st, 2nd & Reverse)

1шт.

42

12-1595

FORK

Shift (1st, 2nd & Reverse)

1шт.

Transmission prior to S/N 2186698. P/N's 12-1989 and 12-1988

1шт.

12-2046

FORK

Shift (1st, 2nd & Reverse)

1шт.

Transmission after S/N 2186698 (in production July '76) Part Nos. 12-2043, 12-2044 & 12-2038.

1шт.

Transmission with internal neutral start (in production July '77). P/N's 01-2214, 01-2212, 01-2213, 01-9568, 90-2250T91, 90-2251T91, 90-2248T91, and 90-2249T91.

1шт.

43

12-2049

TROUGH

1шт.

Transmission after S/N 2186698 (in production July '76) Part Nos. 12-2043, 12-2044 & 12-2038.

1шт.

Transmission with internal neutral start (in production July '77). P/N's 01-2214, 01-2212, 01-2213, 01-9568, 90-2250T91, 90-2251T91, 90-2248T91, and 90-2249T91.

1шт.

44

12-2048

Screw, Trough

1шт.

Transmission after S/N 2186698 (in production July '76) Part Nos. 12-2043, 12-2044 & 12-2038.

1шт.

Transmission with internal neutral start (in production July '77). P/N's 01-2214, 01-2212, 01-2213, 01-9568, 90-2250T91, 90-2251T91, 90-2248T91, and 90-2249T91.

1шт.

45

1-4203

SPRING

1шт.

Transmission with internal neutral start (in production July '77). P/N's 01-2214, 01-2212, 01-2213, 01-9568, 90-2250T91, 90-2251T91, 90-2248T91, and 90-2249T91.

1шт.

46

1-4200

PLUNGER

1шт.

Transmission with internal neutral start (in production July '77). P/N's 01-2214, 01-2212, 01-2213, 01-9568, 90-2250T91, 90-2251T91, 90-2248T91, and 90-2249T91.

1шт.

47

1-4208

BALL

1шт.

Transmission with internal neutral start (in production July '77). P/N's 01-2214, 01-2212, 01-2213, 01-9568, 90-2250T91, 90-2251T91, 90-2248T91, and 90-2249T91.

1шт.

Выбрано товаров: 76