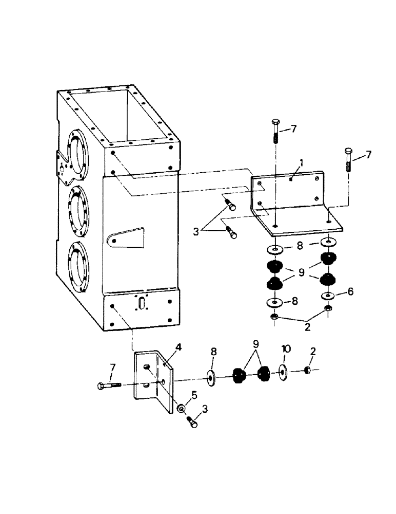
Запчасти Case IH ST325 (04-39) - TRANSFER CASE MOUNTING, STATIONARY STYLE, ASN 2000 (04) - Drive Train

Схема запчастей Case IH ST325 - (04-39) - TRANSFER CASE MOUNTING, STATIONARY STYLE, ASN 2000 (04) - Drive Train
9
8
7
7
7
3
6
3
1
2
2
9
10
8
8
5
4
FIT
1:1
100%

Артикул

Название

Примечание

Количество

1

1-3350

MOUNTING PARTS

Transfer Case Mount

2шт.

2

19-222

LOCK NUT,5/8" - 11, GB

6шт.

3

19-59

BOLT,Hex, 5/8" - 11 x 1 1/2", Gr 5

Capscrew

12шт.

4

90-1870T1

MOUNTING PARTS

Transfer Case Mount

2шт.

5

19-711

WASHER,5/8", SAE

4шт.

6

19-408

WASHER

2шт.

7

19-256

BOLT,Hex, 5/8" - 11 x 4", Gr 5

Capscrew

6шт.

8

51-128

WASHER

8шт.

9

1-3548

ANCHOR

Isolator

12шт.

10

19-408

WASHER

(Right)

1шт.

51-128

WASHER

(Left)

1шт.

Выбрано товаров: 11