Запчасти Case IH ST450 (06-03) - BATTERIES AND MOUNTING (12) - FRAME

Схема запчастей Case IH ST450 - (06-03) - BATTERIES AND MOUNTING (12) - FRAME
6
8
2
5
4
1
7
3
FIT
1:1
100%

Артикул

Название

Примечание

Количество

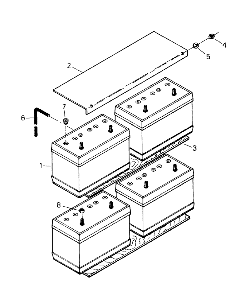
1

2-7000

WET BATTERY

(incl Ref. 7)

4шт.

2

47-3722

BATTERY BOX

Hold Down

2шт.

3

47-4404

Battery Pad

2шт.

4

19-78

SPECIAL NUT,3/8"-16, G5

4шт.

5

19-107

WASHER

4шт.

6

31-2210

HOSE

Vent Hose

4шт.

7

60-2198T1

CAP

1шт.

8

19-341

LOCK NUT,3/8" - 16, GB

(01-4210)

8шт.

Superseded, Old P/N can be used for all models, but order new P/N when stock is depleted.

1шт.

Выбрано товаров: 9