Запчасти Case IH ST450 (05-01) - SERVICE BRAKE AND MOUNTING (5.1) - BRAKES

Схема запчастей Case IH ST450 - (05-01) - SERVICE BRAKE AND MOUNTING (5.1) - BRAKES
12
5
20
11
19
18
16
21
8
15
4
22
2
14
13
7
5
10
1
17
3
6
11
9
FIT
1:1
100%

Артикул

Название

Примечание

Количество

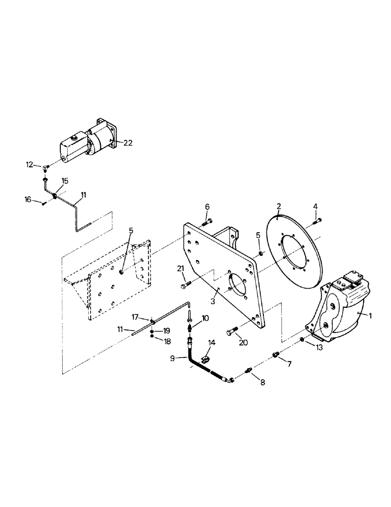
1

Service Brake Assy, see Fig. 05 -02 and 05-03

1шт.

2

47-3438

DISC

Brake Disc

1шт.

3

47-3413

Brake Mount

1шт.

4

455012

BOLT,Hex, 1/2" - 20 x 1 1/4", Gr 8

Capscrew

8шт.

5

19-83

NUT,5/8"-11, G5

7шт.

6

19-60

BOLT,Hex, 5/8" - 11 x 2", Gr 5

Capscrew

3шт.

7

31-653

PLUG

Tapped Plug (not used with Service Brake P/N 90-2350T91)

1шт.

8

31-1028

HYD CONNECTOR,7/16"-20, 37 Degree x 1/8"-27, NPTF

Fitting (used with Service Brake P/N 47-3009), see Fig. 05-02 and 05-03

1шт.

Superseded-Old P/N MUST be used on models prior to S/N break. New P/N will fit models after the S/N break only.

1шт.

31-1727

FITTING

(used with Service Brake P/N 90-2350T91), see Fig. 05-02 and 05-03

1шт.

Superseded-Old P/N MUST be used on models prior to S/N break. New P/N will fit models after the S/N break only.

1шт.

9

18-1537

HOSE ASSY.

Hose

1шт.

10

31-1035

UNION,7/16"-20, 37 Degree x 7/16"-20, 37 Degree

Fitting

1шт.

11

47-4600

Tube

1шт.

12

31-661

ELBOW,90 Degree, 7/16"-20, 37 Degree x 1/8"-27, NPTF

1шт.

13

1-1800

GASKET

(used with Service Brake P/N 47-3009), see Fig. 05-02 and 05-03

1шт.

Superseded-Old P/N MUST be used on models prior to S/N break. New P/N will fit models after the S/N break only.

1шт.

31-1728

O-RING

(used with Service Brake P/N 90-2350T91), see Figures 05-02 and 05-03

1шт.

Superseded-Old P/N MUST be used on models prior to S/N break. New P/N will fit models after the S/N break only.

1шт.

14

31-1244

CLAMP

1шт.

15

32-68

COTTER PIN,3/32" x 1/2"

Clamp

2шт.

16

281-1458

SELF-TAP SCREW,Hex Wash Hd, #10 x 1/2"

Tapping Screw

2шт.

17

22-635

MOUNTING CLIP

Clamp

2шт.

18

19-76

NUT,1/4"-20, G5

2шт.

19

19-223

WASHER,1/4"

2шт.

20

19-63

BOLT,Hex, 3/4" - 10 x 2 1/2", Gr 5

Capscrew

6шт.

21

19-61

BOLT,5/8" - 11 x 2 1/2", Gr 5

Capscrew

4шт.

22

Brake Master Cylinder (see Fig. 5-4)

1шт.

Выбрано товаров: 28