Запчасти Case IH ST450 (03-03) - A/C AND HEATER MODULE (03) - Climate Control

Схема запчастей Case IH ST450 - (03-03) - A/C AND HEATER MODULE (03) - Climate Control
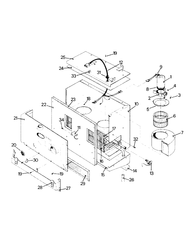
18
27
13
8
34
11
17
14
28
23
2
19
12
3
19
26
33
10
15
5
16
5
19
4
29
22
7
25
1
24
21
30
20
9
31
FIT
1:1
100%

Артикул

Название

Примечание

Количество

1-8657

CONTROL

Module Assy , consists of Ref. 1-34

1шт.

Superseded, Old P/N CAN be used up on all models prior to S/N break only. New P/N MUST be used after S/N break. Order new P/N when old stock is depleted as it will work for all

1шт.

2-3720T91

CONTROL

Module Assy

1шт.

Superseded, Old P/N CAN be used up on all models prior to S/N break only. New P/N MUST be used after S/N break. Order new P/N when old stock is depleted as it will work for all

1шт.

The only difference between these two modules is in the Wire Harness (Ref. 12). The later style harness is used with the later style component assy w/dual relay in the dash (see figure 2-18). A/C Module Harness Kit P/N 35-1287T92 contains the later style wire harness for upgrading the A/C module and dash electrical (see the Note on Page 2-18 for further information)

1шт.

2-1373

MOTOR

Assy, consists of Ref. 1-9

1шт.

1

1-4005T1

MOTOR

2шт.

1: 1-4005t1 is no longer available from supplier. only option is to order kit 35-1614t91 per j. meersman

1шт.

2

25-1049

BRACKET

2шт.

3

19-159

SCREW,Sl Rnd Hd, #10 - 24 x 3/4", Gr 2

Machine Screw

2шт.

4

19-1038

NUT

Kep Nut

4шт.

5

25-1047

OIL SEAL

Blower Inlet Ring

2шт.

6

25-1046

BLOWER

Wheel

2шт.

7

25-1045

HOUSING

Blower Housing

2шт.

8

25-1050

GASKET

2шт.

9

25-1048

ELECTRICAL WIRE

Ground Wire

2шт.

10

25-1030

Wrapper Assy

1шт.

11

25-1039

THERMOSTAT

1шт.

12

1-4006

HARNESS

Wire Harness (Early Style)

1шт.

The only difference between these two modules is in the Wire Harness (Ref. 12). The later style harness is used with the later style component assy w/dual relay in the dash (see figure 2-18). A/C Module Harness Kit P/N 35-1287T92 contains the later style wire harness for upgrading the A/C module and dash electrical (see the Note on Page 2-18 for further information)

1шт.

20-1242T1

HARNESS

Wire Harness (Later Style)

1шт.

13

25-1038

VALVE

Expansion Valve

1шт.

14

2-1377

Pad

1шт.

15

2-1376

PAN

Drip Pan

1шт.

16

2-1370

COIL

Evaporator Coil

1шт.

17

2-1372

CORE

Heater Core

1шт.

18

25-1043

PLATE

Blower Mounting Plate

1шт.

19

19-1033

SCREW,#8 x 3/8"

Tapping Screw

28шт.

20

25-1071

GUARD

Louver

1шт.

21

25-1057

TRANSMISSION

Transition Assy

1шт.

22

25-1053

PANEL

Case Front Panel

1шт.

23

25-1054

INSULATOR

Front Panel Insulation

1шт.

24

25-1056

INSULATOR

Cover Insulation

1шт.

25

25-1055

COVER

Assy

1шт.

26

25-1060

Drain Tube (Flutter Valve) 1" ID, 1.06" OD, 3" Length

2шт.

27

1-2066

TRANSMISSION

Filter Transition Assy

1шт.

28

1-2068

CLAMP

2шт.

29

1-2065

FILTER

(w/Foam Seal)

1шт.

30

1-2067

CLIP

2шт.

31

31-1008

GROMMET

1шт.

32

9418047

SCREW,#12 - 12 x 1/2", Gr 2

Tapping Screw

4шт.

33

2-1374

CLIP

Cable Clip

1шт.

34

19-1027

SELF-TAP SCREW,Cross Truss Hd, #8 x 1/2"

Tapping Screw

2шт.

1-1701

CLOTHES

Filter Coating (can not shown)

1шт.

Выбрано товаров: 44