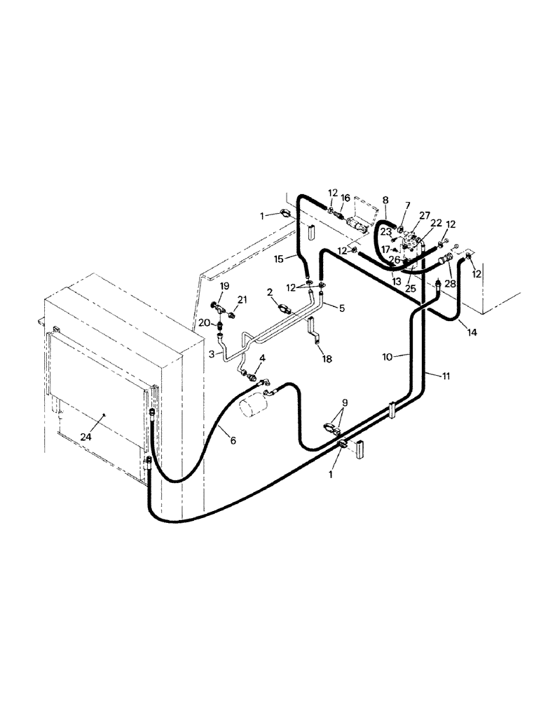
Запчасти Case IH ST450 (03-05) - A/C PLUMBING, CUMMINS ENGINE (03) - Climate Control

Схема запчастей Case IH ST450 - (03-05) - A/C PLUMBING, CUMMINS ENGINE (03) - Climate Control
10
23
28
12
12
24
19
7
26
2
16
9
2
27
21
12
1
12
17
14
1
25
5
13
6
18
12
15
4
4
20
11
3
FIT
1:1
100%

Артикул

Название

Примечание

Количество

1

31-1212

CLAMP

4шт.

2

31-1368

Clamp (01-5289)

2шт.

Superseded, Old P/N is not used any longer; the new P/N is to be used in All cases. Old P/N should be removed from existing inventory. It is recomended that the old part not be used under any circumstances.

1шт.

3

1-9754

Heater Tube 0.625" OD

1шт.

4

31-411

HYD CONNECTOR,7/8"-14, 37 Degree x 3/4"-14, NPTF

Fitting

1шт.

5

47-4407

Heater Tube

1шт.

6

25-380

HOSE

(31-1245)

1шт.

Superseded, Old P/N is not used any longer; the new P/N is to be used in All cases. Old P/N should be removed from existing inventory. It is recomended that the old part not be used under any circumstances.

1шт.

7

25-48

HOSE CLAMP

Clamp

1шт.

8

31-1351

A/C HOSE,0.31" ID x 22.00" , SAE J516 Type A

0.31" ID x 22.00", SAE J516 Type A

1шт.

9

31-1187

CLAMP

2шт.

10

31-1571

HOSE

(31-1365 & 31-1297)

1шт.

Superseded, Old P/N is not used any longer; the new P/N is to be used in All cases. Old P/N should be removed from existing inventory. It is recomended that the old part not be used under any circumstances.

1шт.

11

31-1356

HOSE ASSY.

Hose

1шт.

12

25-285

SQUARE NUT,Sq, 5/16"-18

Clamp

6шт.

13

25-332

HEATER HOSE

1шт.

14

31-1360

Hose

1шт.

15

31-1248

HOSE

1шт.

16

31-1296

Barber Fitting (not needed w/latest heater valve)

1шт.

17

19-211

CAPSCREW,1/4" - 20 x 1 1/4", Gr 5

2шт.

18

47-4441

Clamp Hanger

1шт.

19

31-1275

SHUT-OFF VALVE

Truck Valve

1шт.

20

31-319

HYD CONNECTOR,7/8"-14, 37 Degree x 3/8"-18, NPTF

Connector

1шт.

21

31-13

BUSHING

Reducer

1шт.

22

19-5381

NUT

2шт.

23

276-1478

SELF-TAP SCREW,Hex Hd, 1/4" x 1/2"

Tapping Screw

2шт.

24

2-3370T1

CONDENSER

(25-196)

1шт.

Superseded, Old P/N can be used for all models, but order new P/N when stock is depleted.

1шт.

25

1-7778

AIR CONDITIONER

Receiver Drier

1шт.

26

1-8563

CLAMP BRACKET

Bracket

2шт.

27

25-1002

SWITCH

(Low Pressure)

1шт.

28

25-1038

VALVE

Expansion Valve

1шт.

Выбрано товаров: 32